欢迎来到知嘟嘟! 联系电话:13336804447 卖家免费入驻,海量在线求购! 卖家免费入驻,海量在线求购!
知嘟嘟
我要发布
联系电话:13336804447
知嘟嘟经纪人
收藏
专利号: 2022225878087
申请人: 陈小燕
专利类型:实用新型
专利状态:已下证
专利领域: 织物等的处理;洗涤;其他类不包括的柔性材料
更新日期:2024-04-11
缴费截止日期: 暂无
价格&联系人
年费信息
委托购买

摘要:

权利要求书:

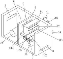
1.一种纺织品除皱烘干装置,包括箱体(1),其特征在于:所述箱体(1)两端分别设有进料口(2)和出口(3),箱体(1)的正面一侧设有箱门(4),箱体(1)的内部设有隔板(5),且隔板(5)将箱体分为浸泡室(6)和处理室(7),隔板(5)上端设有通孔(8);处理室(7)的内顶壁固定安装有除皱机构(9),且处理室(7)中部设有烘干机构(10),处理室(7)的外侧设有鼓风机(11)和驱动电机(12),鼓风机(11)的底部连通有加热箱(13),且加热箱(13)与烘干机构(10)之间连通有集风盒(14),驱动电机(12)输出端贯穿延伸至处理室(7)内并固定连接有转轴(15),转轴(15)的外表面设有收集辊(16),转轴(15)与烘干机构(10)均套接有带轮(17),两个带轮(17)之间通过皮带(18)连接。2.根据权利要求1所述的一种纺织品除皱烘干装置,其特征在于:所述浸泡室(6)的内部通过连接柱固定安装有压辊(19),且压辊(19)的外表面设有凹槽。3.根据权利要求1所述的一种纺织品除皱烘干装置,其特征在于:所述除皱机构(9)包括与处理室(7)内顶壁固定连接的U型框(91),且U型框(91)的上下端均通过伸缩杆固定安装有熨烫板(92)。4.根据权利要求1所述的一种纺织品除皱烘干装置,其特征在于:所述烘干机构(10)包括两个在处理室(7)内部转动连接的两个转杆(101)以及两个固定连接的出风盒(102),且两个转杆(101)外表面中部均固定套接有吸湿辊(103),两个出风盒(102)均通过支管(104)与处理室(7)外部的集风盒(14)连通,两个转杆(101)远离驱动电机的一端均固定套接有相互啮合的齿轮(105),其中一个转杆(101)靠近驱动电机(12)的一端与对应下方转轴(15)的外表面均固定套接有通过皮带(18)连接的带轮(17)。5.根据权利要求1所述的一种纺织品除皱烘干装置,其特征在于:所述箱体(1)的顶部设有顶盖(20),且顶盖(20)的上表面固定嵌设有注液斗(21)。6.根据权利要求1所述的一种纺织品除皱烘干装置,其特征在于:所述箱门(4)表面设有观察窗,且纺织品收集后的收集辊(16)能够从箱门(4)处移出。

我要求购
我不想找了,帮我找吧
您有专利需要变现?
我要出售
智能匹配需求,快速出售