欢迎来到知嘟嘟! 联系电话:13336804447 卖家免费入驻,海量在线求购! 卖家免费入驻,海量在线求购!
知嘟嘟
我要发布
联系电话:13336804447
知嘟嘟经纪人
收藏
专利号: 2023222976415
专利类型:实用新型
专利状态:未下证
专利领域: 暂无
更新日期:2024-04-27
缴费截止日期: 暂无
价格&联系人
年费信息
委托购买

摘要:

权利要求书:

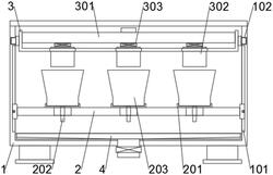
1.一种玉米种植用育苗箱,包括育苗箱(1),其特征在于:所述育苗箱(1)的后端面固定连接有收纳箱(304),所述育苗箱(1)内壁的左右两侧均开设有第一滑槽(101),两个所述第一滑槽(101)之间滑动连接有育苗架(2),所述育苗架(2)的上端面安装有多个均匀分布的放置盘(201),多个所述放置盘(201)的上端面均放置有育苗盆(203);

所述收纳箱(304)内壁的左右两侧均开设有延伸至育苗箱(1)内壁的第二滑槽(102),所述收纳箱(304)的内部安装有与第二滑槽(102)滑动连接的移动箱(3),所述移动箱(3)内部的底端贯穿安装有多个位于育苗盆(203)上方的出水管(302)。

2.根据权利要求1所述的一种玉米种植用育苗箱,其特征在于:所述收纳箱(304)的内部安装有集液管(301),所述集液管(301)的下端面与出水管(302)之间连通有外壁安装有阀门的连接管(303)。

3.根据权利要求1所述的一种玉米种植用育苗箱,其特征在于:所述放置盘(201)的中部贯穿开设有圆孔,所述育苗架(2)的下端面安装有多个与圆孔连通的滴管(202)。

4.根据权利要求1所述的一种玉米种植用育苗箱,其特征在于:所述育苗箱(1)内部的底端安装有集液槽(4),所述集液槽(4)的下端面连通有贯穿并延伸至育苗箱(1)下方的排水管。

5.根据权利要求1所述的一种玉米种植用育苗箱,其特征在于:所述收纳箱(304)的上端面安装有盖板。

6.根据权利要求1所述的一种玉米种植用育苗箱,其特征在于:所述育苗架(2)的左右两侧与第一滑槽(101)之间均通过螺栓固定。