欢迎来到知嘟嘟! 联系电话:13336804447 卖家免费入驻,海量在线求购! 卖家免费入驻,海量在线求购!
知嘟嘟
我要发布
联系电话:13336804447
知嘟嘟经纪人
收藏
专利号: 202322238895X
申请人: 沈阳格熙科技有限公司
专利类型:实用新型
专利状态:已下证
专利领域: 手动工具;轻便机动工具;手动器械的手柄;车间设备;机械手
更新日期:2024-05-21
缴费截止日期: 暂无
价格&联系人
年费信息
委托购买

摘要:

权利要求书:

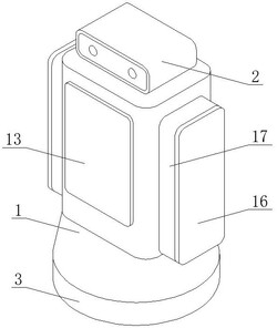
1.一种新型迎宾机器人,其特征在于,包括外壳(1);

所述外壳(1)的顶部固定连接有人脸识别机(2),所述外壳(1)的底部固定连接有驱动底座(3),所述外壳(1)的内部固定连接有隔板(4),所述隔板(4)正面的分别固定连接有控制器(5)和蓄电池(6),所述控制器(5)位于蓄电池(6)的顶部,所述控制器(5)通过信号线分别与人脸识别机(2)、驱动底座(3)和蓄电池(6)电性连接,所述外壳(1)的正面固定连接有显示屏(7),所述显示屏(7)的背面延伸至外壳(1)的内部并通过信号线与控制器(5)电性连接;

所述外壳(1)内部的顶部固定连接有位于隔板(4)正面的喷头(8),所述隔板(4)的背面活动连接有储存罐(9),所述储存罐(9)通过控制阀和管道与喷头(8)的输入口连通,所述外壳(1)内部的顶部固定连接有位于喷头(8)背面的烟雾传感器(10),所述烟雾传感器(10)通过信号线与储存罐(9)的控制阀电性连接。

2.根据权利要求1所述的一种新型迎宾机器人,其特征在于:所述外壳(1)内部的两侧均固定来接有位于隔板(4)正面的收纳架(11),所述收纳架(11)的内部活动连接有干燥剂(12)。

3.根据权利要求1所述的一种新型迎宾机器人,其特征在于:所述外壳(1)的正面通过魔术贴固定连接有防划膜(13),所述防划膜(13)与显示屏(7)对齐。

4.根据权利要求1所述的一种新型迎宾机器人,其特征在于:所述储存罐(9)的表面固定连接有弹性卡夹(14),所述弹性卡夹(14)的正面与隔板(4)的背面固定连接。

5.根据权利要求1所述的一种新型迎宾机器人,其特征在于:所述外壳(1)的两侧均固定连接有缓冲器(15),所述缓冲器(15)的外侧固定连接有防撞板(16)。

6.根据权利要求5所述的一种新型迎宾机器人,其特征在于:所述防撞板(16)的内侧固定连接有位于缓冲器(15)外部的弹力布(17),所述弹力布(17)的内侧与外壳(1)的表面固定连接。

我要求购
我不想找了,帮我找吧
您有专利需要变现?
我要出售
智能匹配需求,快速出售