欢迎来到知嘟嘟! 联系电话:13336804447 卖家免费入驻,海量在线求购! 卖家免费入驻,海量在线求购!
知嘟嘟
我要发布
联系电话:13336804447
知嘟嘟经纪人
收藏
专利号: 2023222015850
申请人: 合肥品之行汽车服务有限公司
专利类型:实用新型
专利状态:已下证
专利领域: 一般车辆
更新日期:2024-08-07
缴费截止日期: 暂无
价格&联系人
年费信息
委托购买

摘要:

权利要求书:

1.一种汽车油箱防盗装置,包括油箱主体(1),其特征在于:所述油箱主体(1)外套设有保护壳(2),所述保护壳(2)内部与所述油箱主体(1)之间连接设有第二防盗机构(4),所述第二防盗机构(4)包括弹簧(401)、橡胶块(402)、正电极(403)以及负电极(404),所述保护壳(2)内壁与所述油箱主体(1)外等距设有弹簧(401),所述弹簧(401)的两侧且位于所述油箱主体(1)上设有正电极(403),所述弹簧(401)的两侧且位于所述保护壳(2)内壁设有负电极(404),两个所述弹簧(401)之间且位于所述保护壳(2)内壁与所述油箱主体(1)上均设有橡胶块(402)。

2.根据权利要求1所述的一种汽车油箱防盗装置,其特征在于:所述正电极(403)的位置与所述负电极(404)的位置相对设置。

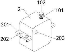
3.根据权利要求1所述的一种汽车油箱防盗装置,其特征在于:所述保护壳(2)顶端一侧设有加油口(101),所述加油口(101)内设有第一防盗机构(3),所述第一防盗机构(3)包括L形连接管(301)以及通孔(302),所述加油口(101)内设有L形连接管(301),所述L形连接管(301)贯穿所述保护壳(2)以及所述油箱主体(1)的顶端,所述L形连接管(301)远离所述加油口(101)的一端位于所述油箱主体(1)内部,所述L形连接管(301)的底端等距设有通孔(302)。

4.根据权利要求3所述的一种汽车油箱防盗装置,其特征在于:所述L形连接管(301)远离所述加油口(101)的一端底端设有连接板(502),所述连接板(502)的底端与所述油箱主体(1)内部底端连接设有立杆(5),所述立杆(5)上套设有漂浮块(501)。

5.根据权利要求4所述的一种汽车油箱防盗装置,其特征在于:所述油箱主体(1)以及所述保护壳(2)顶端设有观察窗(203)。

6.根据权利要求5所述的一种汽车油箱防盗装置,其特征在于:所述保护壳(2)的两侧均设有连接块(201),所述连接块(201)上设有安装螺栓(202),所述加油口(101)配套设有拧紧盖(102),所述拧紧盖(102)与所述加油口(101)通过螺纹连接。

我要求购
我不想找了,帮我找吧
您有专利需要变现?
我要出售
智能匹配需求,快速出售