欢迎来到知嘟嘟! 联系电话:13336804447 卖家免费入驻,海量在线求购! 卖家免费入驻,海量在线求购!
知嘟嘟
我要发布
联系电话:13336804447
知嘟嘟经纪人
收藏
专利号: 2018112633357
申请人: 重庆知遨科技有限公司
专利类型:发明专利
专利状态:已下证
专利领域: 一般车辆
更新日期:2025-12-18
缴费截止日期: 暂无
价格&联系人
年费信息
委托购买

摘要:

权利要求书:

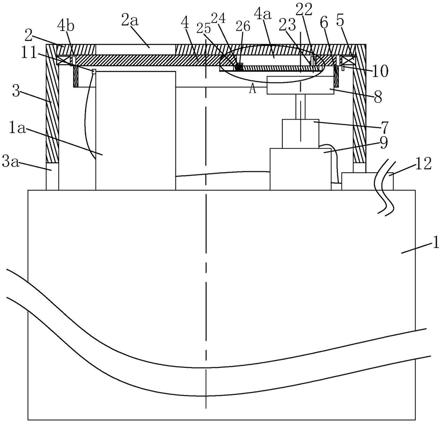
1.一种汽车油箱防盗装置,包括油箱(1),其中油箱的顶部设有加油管(1a),其特征在于:所述加油管(1a)上方设有一块固定防盗钢板(2),该固定防盗钢板与加油管(1a)的轴心线垂直;所述固定防盗钢板(2)上设有一个上下贯穿的油枪上过孔(2a),该油枪上过孔的位置与所述加油管(1a)顶部的油枪插入口相对,其孔径与该油枪插入口相适应;所述加油管(1a)外面罩有一个钢罩(3),该钢罩底部与所述油箱(1)顶部焊接固定,钢罩(3)顶部与固定防盗钢板(2)底面焊接固定,且钢罩(3)和固定防盗钢板(2)的轴心线在同一条直线上;所述加油管(1a)与固定防盗钢板(2)之间设有一块旋转防盗钢板(4),该旋转防盗钢板的顶面与固定防盗钢板(2)底面贴合,而旋转防盗钢板和固定防盗钢板(2)的轴心线在同一条直线上,且旋转防盗钢板(4)与钢罩(3)内壁之间通过轴承(5)相连;所述旋转防盗钢板(4)边缘开有一个上下贯穿的油枪下过孔(4a),该油枪下过孔的孔径与所述加油管(1a)的油枪插入口相适应,且油枪下过孔(4a)与油枪插入口分布在同一个圆周上;所述旋转防盗钢板(4)底面同轴固设有一个内齿圈(6),该内齿圈与电机(7)顶部的齿轮(8)相啮合,而电机(7)安装于垫块(9)顶部,垫块(9)固定在所述油箱(1)顶部;所述旋转防盗钢板(4)的外侧面固设有位置检测块(10),该位置检测块靠近所述油枪下过孔(4a),并与油枪下过孔(4a)在同一条直线上;所述加油管(1a)外壁的顶部安装有位置传感器(11),该位置传感器与所述位置检测块(10)相配合,用于检测油枪下过孔(4a)是否转动到油枪上过孔(2a)正下方,且传感器(11)的检测数据反馈给所述电机(7)的控制器,并用于控制电机(7)的工作状态。

2.根据权利要求1所述的汽车油箱防盗装置,其特征在于:所述油枪下过孔(4a)的外侧设有一组过水小孔(4b),这些过水小孔沿所述旋转防盗钢板(4)的周向均布,且所有的过水小孔(4b)被所述固定防盗钢板(2)遮挡;所述钢罩(3)的下端开有过水缺口(3a)。

3.根据权利要求1所述的汽车油箱防盗装置,其特征在于:所述油枪下过孔(4a)两侧分别设有一块L形导向板(20),这两块L形导向板关于所述位置检测块(10)对称设置,而L形导向板(20)竖直边的上端与旋转防盗钢板(4)底面焊接固定,且L形导向板(20)水平边位于所述加油管(1a)上方;两块所述L形导向板(20)之间滑动配合有一块条形的迷惑钢板(21),该迷惑钢板能够沿油枪下过孔(4a)的径向移动,且有选择地将油枪下过孔(4a)遮挡或者暴露;

所述迷惑钢板(21)的上板面固设有一根螺柱(22),该螺柱位于所述油枪下过孔(4a)中,在螺柱(22)上螺纹连接有双螺母(23),该双螺母(23)底面与迷惑钢板(21)上板面贴合;

所述迷惑钢板(21)上开有一个上小、下大的T形孔,T形孔内活动设有一根螺钉(24),该螺钉头部由T形孔的大径段限位,螺钉(24)上套装有弹簧(25)和螺母(26),其中:所述螺母(26)位于螺钉(24)上端,并将弹簧(25)压紧在T形孔的小径段内;所述螺柱(22)、螺钉(24)和位置检测块(10)在同一条直线上,而螺柱(22)靠近位置检测块(10),螺钉(24)远离位置检测块(10),且双螺母(23)和螺母(26)均能够与所述油枪下过孔(4a)的孔壁接触;当向下压所述螺母(26)时,该螺母可藏入T形孔的小径段内,且螺钉(24)的头部位于所述加油管(1a)上方。

4.根据权利要求1所述的汽车油箱防盗装置,其特征在于:所述钢罩(3)下端开有过孔,硬质穿线管(12)一端通过该过孔后伸到钢罩(3)内,该硬质穿线管(12)的另一端穿到汽车的驾驶室内;所述电机(7)和传感器(11)的线缆均穿过硬质穿线管(12),且电机(7)的控制器位于汽车的驾驶室内。

5.根据权利要求1所述的汽车油箱防盗装置,其特征在于:所述固定防盗钢板(2)、钢罩(3)和旋转防盗钢板(4)的材质均为Q235。

我要求购
我不想找了,帮我找吧
您有专利需要变现?
我要出售
智能匹配需求,快速出售