欢迎来到知嘟嘟! 联系电话:13336804447 卖家免费入驻,海量在线求购! 卖家免费入驻,海量在线求购!
知嘟嘟
我要发布
联系电话:13336804447
知嘟嘟经纪人
收藏
专利号: 2023221332209
申请人: 常熟理工学院
专利类型:实用新型
专利状态:已下证
专利领域: 弹药;爆破
更新日期:2025-02-08
缴费截止日期: 暂无
价格&联系人
年费信息
委托购买

摘要:

权利要求书:

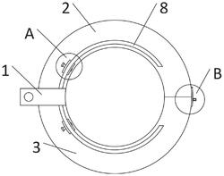
1.一种安全爆炸切割装置,其特征在于:包括爆炸组件、固定组件和连接组件,所述爆炸组件和所述固定组件通过连接套连接;

所述爆炸组件包括上爆炸块和下爆炸块,所述上爆炸块和所述下爆炸块均包括金属罩,所述金属罩内设有药型罩,所述金属罩和所述药型罩之间设有炸药,所述金属罩上设有引爆雷管和铰接块,所述上爆炸块的所述铰接块和所述下爆炸块的所述铰接块铰接在所述连接套上。

2.根据权利要求1所述的一种安全爆炸切割装置,其特征在于:所述固定组件包括滑片,所述滑片为弧形铁片,所述滑片上对称设有两个滑道,两个所述滑道内均设有固定块,两个所述固定块上均设有固定螺母,两个所述固定块上均设有与所述固定螺母配合的螺纹孔。

3.根据权利要求1所述的一种安全爆炸切割装置,其特征在于:所述连接组件包括连接片,所述连接片固定在所述上爆炸块上,所述连接片上设有可供连接块通过的第一通孔,所述连接块固定在所述下爆炸块上,所述连接块上设有第二通孔,所述第二通孔可供开口销通过,所述第一通孔和所述第二通孔均为方形。

4.根据权利要求2所述的一种安全爆炸切割装置,其特征在于:所述连接套为C型套,所述连接套上设有第三通孔和固定槽,所述第三通孔内设有铰接柱,所述固定槽内设有所述滑片。

5.根据权利要求1所述的一种安全爆炸切割装置,其特征在于:所述上爆炸块和所述下爆炸块均为圆环状,所述药型罩为楔形罩,所述药型罩材质为紫铜。