欢迎来到知嘟嘟! 联系电话:13336804447 卖家免费入驻,海量在线求购! 卖家免费入驻,海量在线求购!
知嘟嘟
我要发布
联系电话:13336804447
知嘟嘟经纪人
收藏
专利号: 2018110549808
申请人: 中国矿业大学
专利类型:发明专利
专利状态:已下证
专利领域: 弹药;爆破
更新日期:2024-01-05
缴费截止日期: 暂无
价格&联系人
年费信息
委托购买

摘要:

权利要求书:

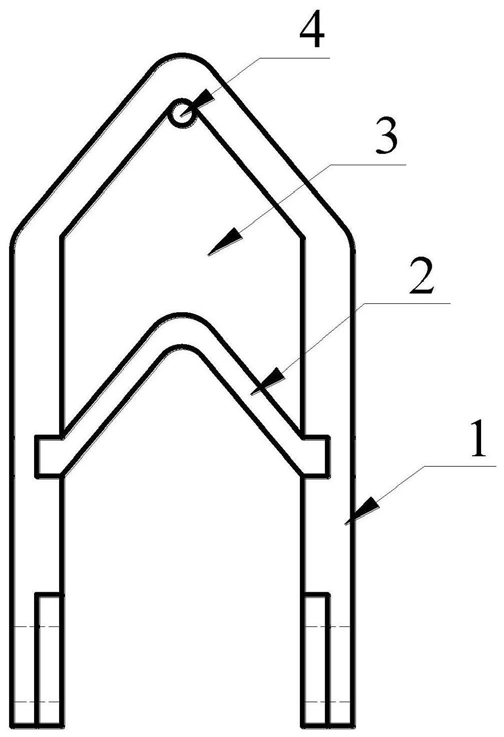
1.一种水下爆炸切割器组件,包括多个爆炸切割器和隔水充气橡胶气袋;其特征是:所述爆炸切割器由切割器外壳、金属聚能罩、高能炸药组成;

所述切割器外壳,为门字形横断面型材,两个前底角处设串接定位凹槽,串接定位凹槽上设内串接定位孔,两个后底角处外接串接定位板,串接定位板上设外串接定位孔;

所述金属聚能罩为V或W形横断面型材,与切割器外壳等长;金属聚能罩置于切割器外壳内,V或W形倒置,金属聚能罩将切割器外壳内部隔成上下两个空间,上部空间为炸药室,充填高能炸药,下部空间为充气室。

2.根据权利要求1所述的水下爆炸切割器组件,其特征是:所述金属外壳门字形横断面的顶部为60~120°的锥角。

3.根据权利要求1或2所述的水下爆炸切割器组件,其特征是:所述金属聚能罩的横断面为V字形,V字形顶角为60~120°,高度h为10~100 mm。

4.根据权利要求1、2或3所述的水下爆炸切割器组件,其特征是:所述金属聚能罩材质为铜、铝、钨、钨铜合金或钨镍合金。

5.根据权利要求1所述的水下爆炸切割器组件,其特征是:所述高能炸药选用TNT、PBX、COMB、RDX或乳化炸药。

6.根据权利要求1或5所述的水下爆炸切割器组件,其特征是:所述高能炸药根据炸药室的形状和尺寸预先压制成型,成型时在炸药的顶部留有用于安装导爆索的预留孔。

7.一种用权利要求1-6之一所述的水下爆炸炸切割器组件实施水下爆炸切割的方法,其步骤是:先在被爆破物体上缠上所述隔水充气橡胶气袋;然后将所述各个爆炸切割器拼接起来环绕被爆破物体并穿入防水安全导爆索,各个爆炸切割器的充气室罩扣在所述隔水充气橡胶气袋上,隔水充气橡胶气袋被卡入各个爆炸切割器的充气室,水下爆炸切割器组件组装完毕;在通过钢丝绳悬吊,将水下爆炸切割器组件沿被爆破物体沉入设定的爆破位置处;给隔水充气橡胶气袋充气至将爆炸切割器的充气室内部填充满;最后进行起爆作业。