欢迎来到知嘟嘟! 联系电话:13336804447 卖家免费入驻,海量在线求购! 卖家免费入驻,海量在线求购!
知嘟嘟
我要发布
联系电话:13336804447
知嘟嘟经纪人
收藏
专利号: 2023219225020
申请人: 湖南佰诺酒业股份有限公司
专利类型:实用新型
专利状态:已下证
专利领域: 其他类不包含的食品或食料;及其处理
更新日期:2025-04-16
缴费截止日期: 暂无
价格&联系人
年费信息
委托购买

摘要:

权利要求书:

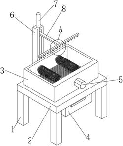
1.一种杨梅酒加工用杨梅清洗设备,包括支腿(1),其特征在于:所述支腿(1)的顶部固定连接有支撑板(2),支撑板(2)的顶部固定连接有清洗箱(3),所述清洗箱(3)前侧的内部固定连接有搅拌组件(5),所述清洗箱(3)的底部固定连接有收集组件(4),所述支撑板(2)的后侧固定连接有调节杆(6),所述调节杆(6)的顶部固定连接有电动伸缩杆本体(7),所述电动伸缩杆本体(7)的底部固定连接有调节架(8),所述调节架(8)的前侧固定连接有高压管(9),所述高压管(9)的底部固定连接有若干个喷头(10),所述高压管(9)的后侧开设有连通口(11);

所述收集组件(4)包括收集盒(401),所述收集盒(401)的后侧开设有孔洞(402),所述收集盒(401)的后侧设置有小型水泵本体(403),所述小型水泵本体(403)的顶部固定连接有软管(404),所述收集盒(401)内壁的左侧和右侧均开设有滑槽(405),所述收集盒(401)的前侧开设有卡槽(406),所述收集盒(401)的前侧设置有卡接盒(407),所述卡接盒(407)的内部栓接有过滤网(408),所述卡接盒(407)的左侧和右侧均固定连接有滑块(409),所述收集盒(401)的前侧固定连接有把手(410)。

2.根据权利要求1所述的一种杨梅酒加工用杨梅清洗设备,其特征在于:所述搅拌组件(5)包括电机本体(501),所述电机本体(501)的前侧固定连接有转动轴(502),所述转动轴(502)的表面套设连接有第一皮带(503)和第二皮带(504),所述第一皮带(503)的左侧转动连接有第一转轴件(505),所述第一转轴件(505)的后侧固定连接有第一清洗刷(507),所述第二皮带(504)的右侧转动连接有第二转轴件(506),所述第二转轴件(506)的前侧固定连接有第二清洗刷(508)。

3.根据权利要求1所述的一种杨梅酒加工用杨梅清洗设备,其特征在于:所述电动伸缩杆本体(7)的底部贯穿调节杆(6)并延伸至调节架(8)的顶部。

4.根据权利要求1所述的一种杨梅酒加工用杨梅清洗设备,其特征在于:所述软管(404)设置于连通口(11)的内壁,所述软管(404)靠近调节架(8)的一侧与连通口(11)的内壁接触。

5.根据权利要求1所述的一种杨梅酒加工用杨梅清洗设备,其特征在于:所述滑块(409)设置于滑槽(405)的内壁,所述滑块(409)远离卡接盒(407)的一侧与滑槽(405)的内壁接触。

6.根据权利要求1所述的一种杨梅酒加工用杨梅清洗设备,其特征在于:所述卡接盒(407)设置于卡槽(406)的内壁,所述卡接盒(407)靠近收集盒(401)的一侧与卡槽(406)的内壁接触。

7.根据权利要求1所述的一种杨梅酒加工用杨梅清洗设备,其特征在于:所述小型水泵本体(403)的前侧设置于收集盒(401)的内侧,所述小型水泵本体(403)的前侧贯穿孔洞(402)并延伸至收集盒(401)的内部。

8.根据权利要求2所述的一种杨梅酒加工用杨梅清洗设备,其特征在于:所述第一清洗刷(507)和第二清洗刷(508)的后侧均转动连接在清洗箱(3)的内壁。