欢迎来到知嘟嘟! 联系电话:13336804447 卖家免费入驻,海量在线求购! 卖家免费入驻,海量在线求购!
知嘟嘟
我要发布
联系电话:13336804447
知嘟嘟经纪人
收藏
专利号: 2023218861245
专利类型:实用新型
专利状态:未下证
专利领域: 暂无
更新日期:2024-02-29
缴费截止日期: 暂无
价格&联系人
年费信息
委托购买

摘要:

权利要求书:

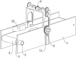
1.一种用于五金法兰生产线的法兰翻转机构,包括生产支架(1),其特征在于:所述生产支架(1)的上端设置有翻转传动机构(8),所述翻转传动机构(8)传动连接有两组夹持翻转机构(11),所述生产支架(1)的两侧均设置有升降机构(9),两组所述夹持翻转机构(11)分别设置在两组升降机构(9)的上端,所述生产支架(1)的两侧均开设有供夹持翻转机构(11)安装的限位槽(6),且限位槽(6)内开设有导向槽(61),所述翻转传动机构(8)、两组升降机构(9)和两组夹持翻转机构(11)均设置在同一平面,所述生产支架(1)的内侧上端焊接有支撑板(5),且生产支架(1)的一侧上端设置有输送电机(2),所述生产支架(1)内侧转动连接有两组传动辊(3),且两组传动辊(3)通过输送带(4)传动连接。

2.根据权利要求1所述的一种用于五金法兰生产线的法兰翻转机构,其特征在于:所述翻转传动机构(8)包括安装在生产支架(1)上端的正反转电机(81)和两组轴承座(85),所述正反转电机(81)的输出轴传动连接有旋转轴(82),且旋转轴(82)的一端传动连接有第一齿轮(83),所述第一齿轮(83)啮合有第二齿轮(84),两组所述轴承座(85)之间转动连接有连接轴(88),所述第二齿轮(84)套设在连接轴(88)外侧中部。

3.根据权利要求2所述的一种用于五金法兰生产线的法兰翻转机构,其特征在于:所述连接轴(88)的两端均固定连接有第三齿轮(86),所述翻转传动机构(8)还包括两组第四齿轮(87),且两组第四齿轮(87)的一端均固定连接有铰杆(871),所述生产支架(1)的两侧上端均开设有供铰杆(871)铰接的铰孔(7),两组所述第三齿轮(86)分别与两组第四齿轮(87)啮合。

4.根据权利要求3所述的一种用于五金法兰生产线的法兰翻转机构,其特征在于:所述夹持翻转机构(11)包括圆板(111),所述圆板(111)的一侧居中固定连接有第二电动推杆(116),所述第二电动推杆(116)的伸缩杆贯穿圆板(111)固定连接有夹块(117),且夹块(117)的一侧粘接有防滑垫(118),所述支撑板(5)的上表面两端均开设有矩形槽(51),且矩形槽(51)设置在夹块(117)的正下方,所述圆板(111)的外侧一体成型有导向环(112),且导向环(112)与导向槽(61)滑动连接。

5.根据权利要求4所述的一种用于五金法兰生产线的法兰翻转机构,其特征在于:所述圆板(111)的一侧焊接有连接管(113),所述连接管(113)的外侧开设有环形滑槽(114),所述环形滑槽(114)的横截面呈T形设置,所述连接管(113)外侧靠近圆板(111)的一端设置有齿牙部(115),且齿牙部(115)与第四齿轮(87)啮合。

6.根据权利要求5所述的一种用于五金法兰生产线的法兰翻转机构,其特征在于:所述升降机构(9)包括第一电动推杆(91),所述第一电动推杆(91)的伸缩杆上端固定连接有固定板(92),所述固定板(92)的上表面焊接有第一支杆(921)和两组第二支杆(922),且第一支杆(921)与两组第二支杆(922)的上端均焊接有滑块(93),所述滑块(93)与环形滑槽(114)滑动连接。

7.根据权利要求6所述的一种用于五金法兰生产线的法兰翻转机构,其特征在于:所述第一支杆(921)的长度小于两组第二支杆(922)的长度,所述生产支架(1)内侧的上端对称焊接有两组引导块(10),且两组引导块(10)的水平横截面均呈直角梯形设置。