欢迎来到知嘟嘟! 联系电话:13336804447 卖家免费入驻,海量在线求购! 卖家免费入驻,海量在线求购!
知嘟嘟
我要发布
联系电话:13336804447
知嘟嘟经纪人
收藏
专利号: 2023218369621
申请人: 湘南学院
专利类型:实用新型
专利状态:已下证
专利领域: 家具;家庭用的物品或设备;咖啡磨;香料磨;一般吸尘器
更新日期:2024-07-22
缴费截止日期: 暂无
价格&联系人
年费信息
委托购买

摘要:

权利要求书:

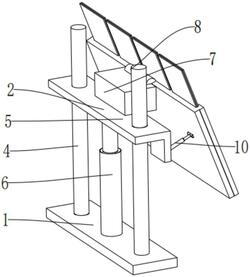
1.一种环境设计图纸展示架,其特征在于:包括底座、调节结构和防触摸结构,所述调节结构设于底座上,所述防触摸结构设于调节结构上,所述调节结构包括立柱、升降座、液压升降柱、固定座、转轴、展示板和液压伸缩调节柱,所述立柱设于底座上,所述升降座滑动设于立柱上,所述液压升降柱一端设于升降座上且另一端设于底座上,所述固定座设于升降座上,所述转轴设于固定座上,所述展示板转动设于转轴上,所述液压伸缩调节柱转动一端设于展示板上且另一端转动设于升降座上。

2.根据权利要求1所述的一种环境设计图纸展示架,其特征在于:所述防触摸结构包括卡槽和透明树脂夹板,所述卡槽设于展示板上,所述透明树脂夹板滑动设于卡槽内。

3.根据权利要求2所述的一种环境设计图纸展示架,其特征在于:所述液压升降柱设于底座与升降座之间,所述液压伸缩调节柱设于展示板与升降座之间。

4.根据权利要求3所述的一种环境设计图纸展示架,其特征在于:所述立柱与升降座呈垂直设置,所述透明树脂夹板与展示板呈平行设置。

5.根据权利要求4所述的一种环境设计图纸展示架,其特征在于:所述立柱呈圆柱形设置,所述升降座呈L形设置,所述展示板呈长方形设置,所述透明树脂夹板呈长方形设置。

6.根据权利要求5所述的一种环境设计图纸展示架,其特征在于:所述透明树脂夹板设有八组,所述液压伸缩调节柱设有两组,所述立柱设有两组。