欢迎来到知嘟嘟! 联系电话:13336804447 卖家免费入驻,海量在线求购! 卖家免费入驻,海量在线求购!
知嘟嘟
我要发布
联系电话:13336804447
知嘟嘟经纪人
收藏
专利号: 2023217089731
专利类型:实用新型
专利状态:未下证
专利领域: 暂无
更新日期:2024-05-10
缴费截止日期: 暂无
价格&联系人
年费信息
委托购买

摘要:

权利要求书:

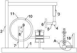
1.一种电缆线加工用切割装置,包括底座(1),其特征在于,所述底座(1)上固定安装有支撑架(2),所述支撑架(2)上固定安装有电动伸缩杆一(3),所述电动伸缩杆一(3)上通过传动部件安装有切割刀(6),所述底座(1)上固定安装有支撑杆一(7),所述支撑杆一(7)上通过转动机构安装有收卷辊(10),所述收卷辊(10)上缠绕安装有线体(11),所述底座(1)上固定安装有支撑杆二(12),所述支撑杆二(12)上固定安装有横板(13),所述支撑杆二(12)上通过连接部件安装有直板(15),所述直板(15)上开设有通孔,所述通孔上固定安装有螺母,所述螺母上贯穿转动安装有螺纹杆(16),所述螺纹杆(16)上固定安装有夹紧板(17),所述底座(1)上固定安装有竖板(18),所述竖板(18)上固定安装有电动伸缩杆二(19),所述电动伸缩杆二(19)左端固定安装有伺服驱动器二(20),所述伺服驱动器二(20)的驱动端固定安装有往复丝杆(21),且往复丝杆(21)两端的螺纹纹向相反,所述往复丝杆(21)上通过两个滚珠螺母安装有两个滑块(22),两个所述滑块(22)上均固定安装有固定板(23),所述伺服驱动器二(20)与底座(1)之间安装有滑动部件。

2.根据权利要求1所述的一种电缆线加工用切割装置,其特征在于,所述传动部件包括固定安装在电动伸缩杆一(3)上的伺服电机(4),所述伺服电机(4)的驱动端固定安装有转动轴(5),且切割刀(6)与转动轴(5)固定连接。

3.根据权利要求1所述的一种电缆线加工用切割装置,其特征在于,所述转动机构包括固定安装在支撑杆一(7)上的伺服驱动器一(8),所述伺服驱动器一(8)的驱动端固定安装有传动杆(9),且收卷辊(10)与传动杆(9)固定连接。

4.根据权利要求1所述的一种电缆线加工用切割装置,其特征在于,所述连接部件包括固定安装在支撑杆二(12)上的两个支架(14),且直板(15)与两个支架(14)均固定连接。

5.根据权利要求1所述的一种电缆线加工用切割装置,其特征在于,所述滑动部件包括开设在底座(1)上滑槽,所述滑槽上滑动安装有滑动块,且伺服驱动器二(20)与滑动块固定连接。

6.根据权利要求1所述的一种电缆线加工用切割装置,其特征在于,所述横板(13)与夹紧板(17)相互靠近的一侧均固定安装有防滑垫,且两个防滑垫均采用橡胶材料制成。