欢迎来到知嘟嘟! 联系电话:13336804447 卖家免费入驻,海量在线求购! 卖家免费入驻,海量在线求购!
知嘟嘟
我要发布
联系电话:13336804447
知嘟嘟经纪人
收藏
专利号: 2020205416442
申请人: 程同恩
专利类型:实用新型
专利状态:已下证
专利领域: 基本上无切削的金属机械加工;金属冲压
更新日期:2024-02-23
缴费截止日期: 暂无
价格&联系人
年费信息
委托购买

摘要:

权利要求书:

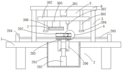
1.一种电线电缆加工用切割装置,其特征在于:包括工作台(1)、调节机构(2)和切割机构(3),所述调节机构(2)包括安装腔(201)、第一伸缩杆(202)、连接座(203)、安装板(204)、限位杆(205)、连接杆(206)、第一活动块(207)、第二活动块(208)、夹块(209)和弹簧(210),所述安装腔(201)设置在工作台(1)的中间位置,且安装腔(201)的顶部开口设置,所述安装板(204)设有两块,两块所述安装板(204)固定连接在工作台(1)顶部的左右两端,所述限位杆(205)固定连接在两块所述安装板(204)之间,所述第一伸缩杆(202)固定连接在安装腔(201)内腔的底部,所述第一活动块(207)和第二活动块(208)滑动连接在限位杆(205)上,所述连接座(203)设有两组,且分别位于第一活动块(207)和第二活动块(208)的底部,所述连接杆(206)的一端铰接在连接座(203)上,另一端铰接在第一伸缩杆(202)的输出端,所述第二活动块(208)上开设有通孔(4),所述夹块(209)铰接在通孔(4)的内侧,所述弹簧(210)固定连接在夹块(209)和通孔(4)内壁之间。

2.如权利要求1所述的一种电线电缆加工用切割装置,其特征在于:所述切割机构(3)包括第二伸缩杆(301)、活动板(302)、导杆(303)、限位块(304)、安装杆(305)、压块(306)和切割刀(307),所述工作台(1)的顶部设有立柱(5),所述立柱(5)的顶部安装有顶板(6),所述第二伸缩杆(301)固定连接在顶板(6)的底部,所述导杆(303)也固定连接在顶板(6)的底部,且位于第二伸缩杆(301)的两侧,所述限位块(304)固定连接在导杆(303)的底部,所述活动板(302)固定连接在第二伸缩杆(301)的底部,且与导杆(303)滑动连接,所述安装杆(305)的一端固定连接在活动板(302)的底部,所述压块(306)固定连接在安装杆(305)的另一端,所述切割刀(307)安装在活动板(302)底部远离压块(306)的一侧。

3.如权利要求1所述的一种电线电缆加工用切割装置,其特征在于:所述夹块(209)和弹簧(210)设有两组,对称设在通孔(4)内壁的两侧,两组所述夹块(209)相对的一侧均为弧形。

4.如权利要求2所述的一种电线电缆加工用切割装置,其特征在于:所述压块(306)的底部设有凹槽(7),所述凹槽(7)的内壁上粘接有弹性连接块(8),所述凹槽(7)位于限位杆(205)的正上方。

5.如权利要求1所述的一种电线电缆加工用切割装置,其特征在于:所述第一活动块(207)上也设有通孔(4),且第一活动块(207)上的通孔(4)和第二活动块(208)上的通孔(4)位于同一直线上。

我要求购
我不想找了,帮我找吧
您有专利需要变现?
我要出售
智能匹配需求,快速出售