欢迎来到知嘟嘟! 联系电话:13336804447 卖家免费入驻,海量在线求购! 卖家免费入驻,海量在线求购!
知嘟嘟
我要发布
联系电话:13336804447
知嘟嘟经纪人
收藏
专利号: 2022219011421
申请人: 武汉中原万城石油化工有限公司
专利类型:实用新型
专利状态:已下证
专利领域: 一般的物理或化学的方法或装置
更新日期:2024-01-05
缴费截止日期: 暂无
价格&联系人
年费信息
委托购买

摘要:

权利要求书:

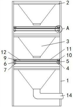
1.一种润滑油生产用的过滤装置,包括防尘箱(1),所述防尘箱(1)包括壳体,所述壳体的正面活动安装有翻门,其特征在于:所述防尘箱(1)的内侧等距离固定连接有三个层板(2),三个所述层板(2)的内侧均放置有导料斗(3),所述防尘箱(1)的内侧装设有两个过滤组件,底部所述导料斗(3)的出料口外部固定连接有导液管(14);

所述过滤组件包括固定连接在四个防尘箱(1)内侧的支撑架(4),所述支撑架(4)的内部插接有滤架(5),所述支撑架(4)和滤架(5)正面的左右两侧均固定连接有锁环(6),所述锁环(6)的内部插接有插销(7),所述支撑架(4)顶部的左侧固定连接有限位滑轨(8),所述限位滑轨(8)的顶部滑动连接有滑块(9),所述支撑架(4)顶部的右侧固定安装有直线导轨(10),所述滑块(9)和直线导轨(10)的导轨滑块顶部均与连接板(11)的底部固定连接,所述连接板(11)的底部固定连接有底座(12),所述底座(12)的底部固定连接有刷条(13)。

2.根据权利要求1所述的一种润滑油生产用的过滤装置,其特征在于:三个所述层板(2)为矩形板,且三个层板(2)的内侧均开设有圆形开口。

3.根据权利要求1所述的一种润滑油生产用的过滤装置,其特征在于:所述导料斗(3)包括托板,托板呈环状,托板的底部固定连接有位于层板(2)内侧的料斗,料斗的出料口固定连接有导管。

4.根据权利要求1所述的一种润滑油生产用的过滤装置,其特征在于:所述支撑架(4)呈n状,且支撑架(4)的内侧开设有放置槽。

5.根据权利要求1所述的一种润滑油生产用的过滤装置,其特征在于:所述滤架(5)包括外框,外框的内侧固定连接有滤网。

6.根据权利要求5所述的一种润滑油生产用的过滤装置,其特征在于:所述底座(12)的长度小于支撑架(4)的内侧长度,所述刷条(13)的底部和滤网接触。

我要求购
我不想找了,帮我找吧
您有专利需要变现?
我要出售
智能匹配需求,快速出售