欢迎来到知嘟嘟! 联系电话:13336804447 卖家免费入驻,海量在线求购! 卖家免费入驻,海量在线求购!
知嘟嘟
我要发布
联系电话:13336804447
知嘟嘟经纪人
收藏
专利号: 2023215122364
申请人: 马阿英社
专利类型:实用新型
专利状态:已下证
专利领域: 织物等的处理;洗涤;其他类不包括的柔性材料
更新日期:2024-12-04
缴费截止日期: 暂无
价格&联系人
年费信息
委托购买

摘要:

权利要求书:

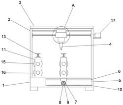
1.一种服装布料裁切同步压实机,包括底座(1),其特征在于,所述底座(1)的顶部固定连接有支撑架(2),且两个支撑架(2)的顶部固定连接有顶板(3),所述底座(1)内开设有槽体(5),且槽体(5)内固定安装有滑动柱(6),所述滑动柱(6)上滑动安装有滑块,且滑块的底部固定连接有第一横移机构,所述滑块和底座(1)的顶部均固定连接有架体(11),且两个架体(11)的顶部均固定安装有螺杆调节机构,两个所述螺杆调节机构上均转动安装有压实机构,所述支撑架(2)的一侧固定连接有第二电动机(17),且第二电动机(17)的输出轴上固定连接有第二横移机构,所述第二横移机构上滑动安装有裁切机构。

2.根据权利要求1所述的一种服装布料裁切同步压实机,其特征在于,所述第一横移机构包括固定连接于滑块底部的第一电动机(7),且第一电动机(7)的输出轴上固定连接有旋转轴(8)。

3.根据权利要求2所述的一种服装布料裁切同步压实机,其特征在于,所述旋转轴(8)上固定套设有齿轮(9),且齿轮(9)啮合有齿条(10),所述齿条(10)固定安装于槽体(5)内。

4.根据权利要求1所述的一种服装布料裁切同步压实机,其特征在于,两个所述螺杆调节机构包括固定安装于架体(11)上的螺母(12),且两个螺母(12)上均螺纹安装有螺钉(13)。

5.根据权利要求4所述的一种服装布料裁切同步压实机,其特征在于,两个所述压实机构包括转动安装于螺钉(13)底部的安装架(14),且两个安装架(14)分别转动安装于两个架体(11)内,两个所述安装架(14)内均转动安装有第一压辊(15),且两个安装架(14)内均转动安装有第二压辊(16)。

6.根据权利要求1所述的一种服装布料裁切同步压实机,其特征在于,所述第二横移机构包括固定连接于第二电动机(17)上的螺纹杆(18),且螺纹杆(18)转动安装于两个支撑架(2)内,两个所述支撑架(2)内固定连接有同一个导柱(21),所述螺纹杆(18)上螺纹安装有螺纹块(19),所述导柱(21)上滑动安装有滑动块(20),且螺纹块(19)与滑动块(20)固定连接。

7.根据权利要求6所述的一种服装布料裁切同步压实机,其特征在于,所述裁切机构包括固定连接于螺纹块(19)底部的液压缸(22),且液压缸(22)上设有液压杆(23),所述液压杆(23)上固定安装有切刀(4)。