欢迎来到知嘟嘟! 联系电话:13336804447 卖家免费入驻,海量在线求购! 卖家免费入驻,海量在线求购!
知嘟嘟
我要发布
联系电话:13336804447
知嘟嘟经纪人
收藏
专利号: 202420578520X
申请人: 温州铭泰印刷包装机械有限公司
专利类型:实用新型
专利状态:已下证
专利领域: 印刷;排版机;打字机;模印机〔4〕
更新日期:2025-04-19
缴费截止日期: 暂无
价格&联系人
年费信息
委托购买

摘要:

权利要求书:

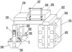
1.一种同步带柔板印刷机,其特征在于,包括主体机构(1)、传送机构(2)、印刷机构(3)和控制机构(4),所述传送机构(2)位于主体机构(1)的底部,所述印刷机构(3)位于主体机构(1)的内部,所述控制机构(4)位于主体机构(1)的表面;

所述主体机构(1)包括印刷外壳(101),所述印刷外壳(101)的顶部固定连接有印刷顶盖(102),所述印刷顶盖(102)的左侧固定连接有顶盖(103),所述顶盖(103)的顶部固定连接有传送架(104),所述顶盖(103)的顶部固定连接有开合架(105),所述开合架(105)的表面固定连接有开合气缸(106),所述开合气缸(106)的右侧固定连接有通气管(107),所述顶盖(103)的底部固定连接有控制柱(108),所述控制柱(108)的表面转动有维修门(109)。

2.如权利要求1所述的一种同步带柔板印刷机,其特征在于:所述印刷外壳(101)的数量设置有两个,两个所述印刷外壳(101)以印刷顶盖(102)为中心对称分布,所述开合气缸(106)的数量设置有两个,两个所述开合气缸(106)以开合架(105)为中心对称分布。

3.如权利要求1所述的一种同步带柔板印刷机,其特征在于:所述传送机构(2)包括传送柱(201),所述传送柱(201)固定连接在顶盖(103)的底部,所述传送柱(201)的底部固定连接有传送底座(202),所述传送底座(202)的表面转动连接有传送电机(203),所述传送柱(201)的内壁固定连接有传送轴(204),所述传送轴(204)的表面啮合有传送皮带(205),所述开合架(105)的内壁转动连接有传送杆(206)。

4.如权利要求3所述的一种同步带柔板印刷机,其特征在于:所述传送轴(204)的数量设置有两个,两个所述传送轴(204)以传送柱(201)为中心对称分布,所述传送杆(206)的数量设置有两个,两个所述传送杆(206)以开合架(105)为中心对称分布。

5.如权利要求3所述的一种同步带柔板印刷机,其特征在于:所述印刷机构(3)包括放料支架(301),所述放料支架(301)固定连接在传送底座(202)的顶部,所述传送底座(202)的内壁转动连接有放料杆(302),所述传送柱(201)的表面转动连接有上料杆(303),所述印刷外壳(101)的内壁转动连有印刷滚筒(304)。

6.如权利要求5所述的一种同步带柔板印刷机,其特征在于:所述放料支架(301)的数量设置有两组,两组所述放料支架(301)以传送柱(201)为中心对称分布,所述上料杆(303)的数量设置有两个,两个所述上料杆(303)以传送柱(201)为中心对称分布,所述印刷滚筒(304)的数量设置有两组,两组所述印刷滚筒(304)以印刷外壳(101)为中心对称分布。

7.如权利要求1所述的一种同步带柔板印刷机,其特征在于:所述控制机构(4)包括控制面板(401),所述控制面板(401)固定连接在控制柱(108)的表面,所述控制面板(401)的表面电性连接有显示器(402),所述控制面板(401)的表面电性连接有控制按钮(403)。

我要求购
我不想找了,帮我找吧
您有专利需要变现?
我要出售
智能匹配需求,快速出售