欢迎来到知嘟嘟! 联系电话:13336804447 卖家免费入驻,海量在线求购! 卖家免费入驻,海量在线求购!
知嘟嘟
我要发布
联系电话:13336804447
知嘟嘟经纪人
收藏
专利号: 2023214081494
申请人: 太原常成电气设备安装有限公司
专利类型:实用新型
专利状态:已下证
专利领域: 发电、变电或配电
更新日期:2024-02-26
缴费截止日期: 暂无
价格&联系人
年费信息
委托购买

摘要:

权利要求书:

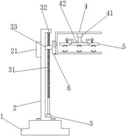
1.一种弱电工程线路布线走线辅助装置,其特征在于:包括底座(1),所述底座(1)顶部固定安装有框架(2),所述框架(2)内底部固定安装有驱动电机(3),所述框架(2)顶部一侧放置有支撑架(4);

所述驱动电机(3)的传动轴顶部固定安装有螺杆(31),所述螺杆(31)顶端通过轴承(32)与框架(2)顶壁转动连接,所述螺杆(31)顶部通过螺纹旋接有螺块(33),所述螺块(33)外侧固定安装有支台(6);

所述支台(6)与支撑架(4)固定连接,所述支撑架(4)内顶部固定安装有推杆电机(41),所述推杆电机(41)的传动轴底部固定安装有压板(42),所述压板(42)两侧顶部均开设有卡台(43);

所述卡台(43)处卡位有侧板(5),所述侧板(5)顶部固定安装有活动杆(52),所述活动杆(52)顶部活动贯穿于支架(51),且支架(51)与压板(42)固定连接,所述活动杆(52)外侧套设有弹簧(53);

所述侧板(5)底部、压板(42)底部和支撑架(4)底内壁均固定安装有夹板(54),且夹板(54)内固定安装有防滑垫(55)。

2.根据权利要求1所述的一种弱电工程线路布线走线辅助装置,其特征在于:所述支台(6)内固定安装有电磁铁(61),所述电磁铁(61)一侧吸附定位有铁块(44),且铁块(44)与支撑架(4)固定连接,所述支撑架(4)底端通过铰接件(62)与支台(6)转动连接。

3.根据权利要求1所述的一种弱电工程线路布线走线辅助装置,其特征在于:所述框架(2)背向螺杆(31)的一侧顶部固定安装有蓄电池(21),且蓄电池(21)通过导线分别与驱动电机(3)、推杆电机(41)和电磁铁(61)电性连接。

4.根据权利要求1所述的一种弱电工程线路布线走线辅助装置,其特征在于:所述框架(2)底部两侧均固定安装有耳板,所述耳板内中部活动贯穿有螺栓,且螺栓通过螺纹与底座(1)上预设的螺孔旋接。

5.根据权利要求1所述的一种弱电工程线路布线走线辅助装置,其特征在于:所述弹簧(53)两端分别与支架(51)和侧板(5)固定连接。

6.根据权利要求1所述的一种弱电工程线路布线走线辅助装置,其特征在于:所述推杆电机(41)的传动轴与压板(42)连接处两侧均固定安装有加强筋,且加强筋为三角形结构。

我要求购
我不想找了,帮我找吧
您有专利需要变现?
我要出售
智能匹配需求,快速出售