欢迎来到知嘟嘟! 联系电话:13336804447 卖家免费入驻,海量在线求购! 卖家免费入驻,海量在线求购!
知嘟嘟
我要发布
联系电话:13336804447
知嘟嘟经纪人
收藏
专利号: 2023213178011
专利类型:实用新型
专利状态:未下证
专利领域: 暂无
更新日期:2023-10-15
缴费截止日期: 暂无
价格&联系人
年费信息
委托购买

摘要:

权利要求书:

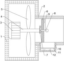
1.一种环境中粉尘监测装置,包括固定外壳(1),所述固定外壳(1)的一侧侧壁上固定连接有进气管(2),所述进气管(2)与固定外壳(1)的内部相通设置,所述进气管(2)的内部设置有过滤网(6),所述固定外壳(1)的内侧壁上固定连接有电机(3),所述电机(3)的输出端固定连接有旋转杆(4),所述旋转杆(4)的侧壁上固定连接有多片扇叶(5),所述旋转杆(4)的末端固定连接有偏心轮(7),所述偏心轮(7)远离旋转杆(4)的一端滑动连接有连接轴(8),所述连接轴(8)贯穿过滤网(6)设置,所述进气管(2)的下内壁上设置有开口,所述开口处螺纹连接有收集盒(10),其特征在于,所述过滤网(6)上设置有震动结构,所述震动结构包括开设在进气管(2)内部的移动槽(13),所述移动槽(13)设置在过滤网(6)的前后两侧处,所述过滤网(6)的两端分别贯穿对应的移动槽(13)的内侧壁伸入到移动槽(13)的内部设置,所述过滤网(6)位于移动槽(13)内部的一侧固定连接有连接弹簧(14),所述连接弹簧(14)远离过滤网(6)的一端固定连接在对应的移动槽(13)的内侧壁上,所述过滤网(6)靠近偏心轮(7)的一侧侧壁上固定连接有震动板(15),所述震动板(15)与偏心轮(7)相贴设置,所述连接轴(8)位于过滤网(6)外侧的部分上固定连接有刮除刀(9),所述刮除刀(9)与过滤网(6)的侧壁相贴设置。

2.根据权利要求1所述的一种环境中粉尘监测装置,其特征在于,所述震动板(15)采用具有一定弹性的材料制成,所述连接弹簧(14)上固定设置有阻尼器。

3.根据权利要求1所述的一种环境中粉尘监测装置,其特征在于,所述收集盒(10)的内部滑动连接有承载板(11),所述承载板(11)的底端固定设置有检测装置(12)。

4.根据权利要求3所述的一种环境中粉尘监测装置,其特征在于,所述检测装置(12)设置有与其相对应的控制中心。