欢迎来到知嘟嘟! 联系电话:13336804447 卖家免费入驻,海量在线求购! 卖家免费入驻,海量在线求购!
知嘟嘟
我要发布
联系电话:13336804447
知嘟嘟经纪人
收藏
专利号: 202323360934X
申请人: 福州中创联合科技有限公司
专利类型:实用新型
专利状态:已下证
专利领域: 测量;测试
更新日期:2024-12-05
缴费截止日期: 暂无
价格&联系人
年费信息
委托购买

摘要:

权利要求书:

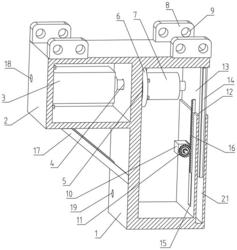
1.一种环境粉尘检测装置,包括壳体(1)、延伸仓(2)、伺服电缸(3)、激光散热传感器(7)、伺服电机(10)、齿轮(11)、齿条(16)和第二位移板(13),其特征在于:所述壳体(1)顶端一侧设置有延伸仓(2),所述壳体(1)内壁一端通过固定座设置有伺服电机(10),所述伺服电机(10)的动力输出端连接有齿轮(11),所述壳体(1)内壁靠近所述伺服电机(10)一侧处设置有第三预留槽(15),所述壳体(1)顶端远离所述延伸仓(2)一侧处开设有第一预留槽(12),所述壳体(1)内靠近所述第一预留槽(12)下端处开设有第二预留槽(21),所述第二预留槽(21)内套设有第二位移板(13),所述第二位移板(13)内壁与所述第三预留槽(15)对应位置设置有齿条(16),所述齿条(16)与齿轮(11)啮合,所述伺服电缸(3)内壁一端通过安装座设置有伺服电缸(3),所述伺服电缸(3)的动力输出端连接有第一位移板(5),所述第一位移板(5)一端通过螺栓固定有底座(6),所述底座(6)一端设置有激光散热传感器(7),所述第二位移板(13)两侧处均设置有条形滑动块(14),所述第二预留槽(21)和第一预留槽(12)内两侧处均开设有与所述条形滑动块(14)对应的条形导槽(20)。

2.根据权利要求1所述的一种环境粉尘检测装置,其特征在于:所述延伸仓(2)靠近所述壳体(1)一端处贯穿开设有通孔(4)。

3.根据权利要求1所述的一种环境粉尘检测装置,其特征在于:所述延伸仓(2)一端贯穿开设有第一走线孔(18),所述壳体(1)底端一侧处贯穿开设有第二走线孔(19)。

4.根据权利要求1所述的一种环境粉尘检测装置,其特征在于:所述延伸仓(2)底部与壳体(1)一端连接拐角处设置有加强筋板(17)。

5.根据权利要求1所述的一种环境粉尘检测装置,其特征在于:所述壳体(1)和延伸仓(2)顶部靠近拐角处均设置有连接板(8),所述连接板(8)一侧贯穿开设有连接孔(9)。