欢迎来到知嘟嘟! 联系电话:13336804447 卖家免费入驻,海量在线求购! 卖家免费入驻,海量在线求购!
知嘟嘟
我要发布
联系电话:13336804447
知嘟嘟经纪人
收藏
专利号: 2023211211335
专利类型:实用新型
专利状态:未下证
专利领域: 暂无
更新日期:2024-01-05
缴费截止日期: 暂无
价格&联系人
年费信息
委托购买

摘要:

权利要求书:

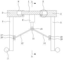
1.一种建筑施工支架,包括主板,其特征在于:还包括可滑动设置于所述主板左右两端且相对设置的左滑动板与右滑动板、分别设置于所述左滑动板与所述右滑动板下端面的两个左支撑腿与两个右支撑腿、两端分别铰接设置于所述左支撑腿与右支撑腿之间中部位于所述主板正下方的联动件、固定端设置于所述主板下端输出端与所述联动件中部相连接的驱动装置;

所述联动件包括主动杆,第一联动杆,第一转动块,第二联动杆,第二转动块,限位块,所述主动杆设置于所述驱动装置的输出端且位于所述主板下方,所述第一联动杆数量为两个,两个所述第一联动杆的一端分别与两个所述左支撑腿的内侧铰接连接,所述第一联动杆另一端通过第一转动块与所述主动杆一侧转动连接,所述第一转动块与所述主动杆一侧间隙配合,所述第二联动杆数量为两个,两个所述第二联动杆的一端分别与两个所述右支撑腿的内侧铰接连接,所述第二联动杆另一端通过第二转动块与所述主动杆另一侧转动连接,所述第二转动块与所述主动杆另一侧间隙配合,所述限位块分别设置于所述主动杆的两端。

2.根据权利要求1所述的一种建筑施工支架,其特征在于:所述左滑动板与所述右滑动板上位于所述主板那端开设有滑动槽,所述左滑动板和所述右滑动板与所述主板之间通过滑动槽滑动配合,所述主板与所述滑动槽之间间隙配合。

3.根据权利要求2所述的一种建筑施工支架,其特征在于:所述左滑动板和所述右滑动板与所述主板之间设置有用于防止左滑动板和右滑动板脱离于主板两端的防脱装置。

4.根据权利要求3所述的一种建筑施工支架,其特征在于:所述防脱装置包括开设于所述左滑动板和所述右滑动板上且与所述滑动槽相连通的防脱槽、一端设置于所述左滑动板和所述右滑动板上另一端与所述防脱槽滑动配合的防脱块。

5.根据权利要求1所述的一种建筑施工支架,其特征在于:所述第一联动杆与所述左支撑腿内侧之间设置有第一连接块,所述第一连接块与所述第一联动杆的一端铰接连接,所述第一连接块上远离所述左支撑腿那端开设有第一避让槽;

所述第二联动杆与所述右支撑腿内侧之间设置有第二连接块,所述第二连接块与所述第二联动杆的一端铰接连接,所述第二连接块上远离所述右支撑腿那端开设有第二避让槽。

6.根据权利要求1所述的一种建筑施工支架,其特征在于:所述驱动装置为伸缩电机。

我要求购
我不想找了,帮我找吧
您有专利需要变现?
我要出售
智能匹配需求,快速出售