欢迎来到知嘟嘟! 联系电话:13336804447 卖家免费入驻,海量在线求购! 卖家免费入驻,海量在线求购!
知嘟嘟
我要发布
联系电话:13336804447
知嘟嘟经纪人
收藏
专利号: 2023202056985
申请人: 邹凤凯
专利类型:实用新型
专利状态:已下证
专利领域: 建筑物
更新日期:2024-06-20
缴费截止日期: 暂无
价格&联系人
年费信息
委托购买

摘要:

权利要求书:

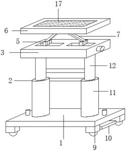
1.一种建筑施工支架,包括底板(1),其特征在于:所述底板(1)顶部对称固定设有支撑杆(2),所述支撑杆(2)顶端固定设有固定板(3),所述固定板(3)内腔对称设有丝杆(4),所述丝杆(4)上套设有移动块(5),所述固定板(3)上方设有支撑板(6),所述支撑板(6)底部通过斜撑杆(7)与移动块(5)顶部连接,所述固定板(3)顶部两侧固定设有固定杆(8),所述底板(1)底部固定设有带有刹车片的移动轮(9),所述底板(1)两端底部设有定位板(10)。

2.根据权利要求1所述的一种建筑施工支架,其特征在于:所述支撑杆(2)包括固定套杆(11)与伸缩支杆(12),且伸缩支杆(12)底端嵌入固定套杆(11)内,所述固定套杆(11)上设有固定螺栓,所述固定套杆(11)、伸缩支杆(12)之间均设有加强杆。

3.根据权利要求2所述的一种建筑施工支架,其特征在于:所述固定板(3)内腔开设有滑动槽(13),所述丝杆(4)设置于滑动槽(13)中间,所述丝杆(4)上的螺纹相反,且丝杆(4)一端均设有转动把手。

4.根据权利要求3所述的一种建筑施工支架,其特征在于:所述固定杆(8)位于丝杆(4)两端,所述滑动槽(13)两侧均匀开设有固定孔(14),所述移动块(5)两端均开设有定位孔(15),所述固定杆(8)底端穿过固定孔(14)插入定位孔(15)内。

5.根据权利要求4所述的一种建筑施工支架,其特征在于:所述支撑板(6)底部固定设有连接座(16),所述斜撑杆(7)两端均为铰接,所述支撑板(6)顶部固定设有防滑垫(17),且两端开设有安装孔。

6.根据权利要求5所述的一种建筑施工支架,其特征在于:所述底板(1)两端对称开设有螺纹孔(18),所述螺纹孔(18)内设有螺纹杆(19),所述螺纹杆(19)底端与定位板(10)连接,且定位板(10)底部设有防滑凸起。

我要求购
我不想找了,帮我找吧
您有专利需要变现?
我要出售
智能匹配需求,快速出售