欢迎来到知嘟嘟! 联系电话:13336804447 卖家免费入驻,海量在线求购! 卖家免费入驻,海量在线求购!
知嘟嘟
我要发布
联系电话:13336804447
知嘟嘟经纪人
收藏
专利号: 2023210949421
申请人: 安徽半语品牌管理有限公司
专利类型:实用新型
专利状态:已下证
专利领域: 家具;家庭用的物品或设备;咖啡磨;香料磨;一般吸尘器
更新日期:2024-02-27
缴费截止日期: 暂无
价格&联系人
年费信息
委托购买

摘要:

权利要求书:

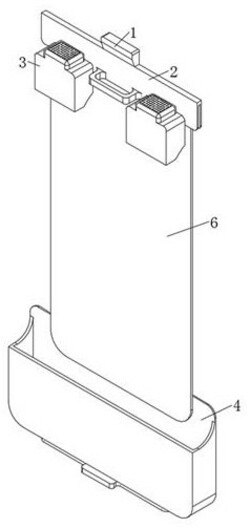
1.一种耐污型超细纤维毛巾布,包括主体(1),其特征在于:所述主体(1)底部固定连接有夹紧机构(2),所述夹紧机构(2)表面设置有风干机构(3),所述夹紧机构(2)底部固定连接有存水机构(4),所述存水机构(4)底部设置有封堵机构(5),所述夹紧机构(2)内部设置有毛巾布(6)。

2.根据权利要求1所述的一种耐污型超细纤维毛巾布,其特征在于:所述主体(1)还包括挂孔(101),所述挂孔(101)开设在主体(1)后壁,并且所述挂孔(101)分布在主体(1)中轴处。

3.根据权利要求2所述的一种耐污型超细纤维毛巾布,其特征在于:所述夹紧机构(2)还包括夹紧架(201),所述夹紧架(201)固定连接在主体(1)底部,所述夹紧架(201)背面固定连接有吸盘一(202),所述吸盘一(202)有两个,两个所述吸盘一(202)以主体(1)为中心对称分布,所述夹紧架(201)底部固定连接有连接架(203),所述连接架(203)中心处固定连接有吸盘二(205),所述夹紧架(201)正面固定连接有拉手(204),所述夹紧架(201)具有弹性,所述毛巾布(6)与夹紧架(201)内壁相抵。

4.根据权利要求3所述的一种耐污型超细纤维毛巾布,其特征在于:所述风干机构(3)还包括风干架(302),所述风干架(302)固定连接在夹紧架(201)正面,所述风干架(302)顶部固定连接有风干器(301),所述风干器(301)与风干架(302)内部相互连通,所述风干架(302)底部开设有吹风口(303),所述吹风口(303)形状为斜面。

5.根据权利要求4所述的一种耐污型超细纤维毛巾布,其特征在于:所述存水机构(4)还包括存水架(401),所述存水架(401)固定连接在连接架(203)底部,所述存水架(401)背面固定连接有吸盘三(402),所述吸盘三(402)有四个,四个所述吸盘三(402)分为两组,每组所述吸盘三(402)以存水架(401)为中心对称分布,所述存水架(401)顶部开设有入口(403),并且所述存水架(401)底部开设有三个出水口。

6.根据权利要求5所述的一种耐污型超细纤维毛巾布,其特征在于:所述封堵机构(5)还包括堵头(501),所述堵头(501)插接在存水架(401)底部的出水口内部,所述堵头(501)有三个,三个所述堵头(501)分布在三个出水口内部,所述堵头(501)底部固定连接有封闭板(502),所述封闭板(502)底部固定连接有拉板(503),所述拉板(503)向存水架(401)前面延伸。