欢迎来到知嘟嘟! 联系电话:13095918853 卖家免费入驻,海量在线求购! 卖家免费入驻,海量在线求购!
知嘟嘟
我要发布
联系电话:13095918853
知嘟嘟经纪人
收藏
专利号: 2023210772489
专利类型:实用新型
专利状态:未下证
专利领域: 暂无
更新日期:2024-01-05
缴费截止日期: 暂无
价格&联系人
年费信息
委托购买

摘要:

权利要求书:

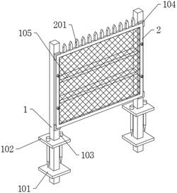
1.一种隔离栅,其特征在于,包括:架体(1);所述架体(1)下半部分掩埋在泥土中;所述架体(1)上对称焊接有两块辅助板(101),两块辅助板(101)均为回字形板状结构,两块辅助板(101)共同组成了架体(1)的辅助固定结构。

2.如权利要求1所述一种隔离栅,其特征在于:所述架体(1)上对称焊接有两个固定板(102),两个固定板(102)均为回字形板状结构,两个固定板(102)底端面均与地面接触,两个固定板(102)共同组成了架体(1)的第二防倾倒结构。

3.如权利要求2所述一种隔离栅,其特征在于:每块所述固定板(102)上均插接有一根地钉(103),两个地钉(103)共同组成了固定板(102)的固定结构。

4.如权利要求1所述一种隔离栅,其特征在于:所述架体(1)前端面通过四个螺栓固定有防护框架(2),防护框架(2)上焊接有防护网;

架体(1)上对称焊接有两根挡杆(105),两根挡杆(105)均为矩形杆状结构,两根挡杆(105)均位于防护框架(2)后方5cm处,两根挡杆(105)均与防护框架(2)接触。

5.如权利要求1所述一种隔离栅,其特征在于:所述架体(1)上焊接有四个限位座(104),四个限位座(104)均为L形结构,四个限位座(104)均与防护框架(2)卡接,此时防护框架(2)上的螺栓与架体(1)上的螺纹孔对正。

6.如权利要求4所述一种隔离栅,其特征在于:所述防护框架(2)顶端面呈线性阵列状焊接有尖刺(201),线性阵列状焊接的尖刺(201)共同组成了防攀爬结构。