欢迎来到知嘟嘟! 联系电话:13095918853 卖家免费入驻,海量在线求购! 卖家免费入驻,海量在线求购!
知嘟嘟
我要发布
联系电话:13095918853
知嘟嘟经纪人
收藏
专利号: 2020226236172
申请人: 荆宏臻
专利类型:实用新型
专利状态:已下证
专利领域: 水利工程;基础;疏浚
更新日期:2024-02-23
缴费截止日期: 暂无
价格&联系人
年费信息
委托购买

摘要:

权利要求书:

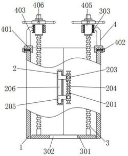
1.一种刺铁丝隔离栅基础组合式模板,包括模板(1),两个所述模板(1)相互贴合,其特征在于:两个所述模板(1)的外壁前后端面均设有连接机构(2);

所述连接机构(2)包括滑杆(201)、滑套(202)、手柄(203)、弹簧(204)、卡杆(205)和卡槽框(206);

两个所述滑杆(201)分别固接于右侧的模板(1)的前后端面,所述滑杆(201)的外壁滑动相连有两个滑套(202),所述滑套(202)的外壁前端面固接有手柄(203),所述滑杆(201)的外壁间隙配合有弹簧(204),所述弹簧(204)的顶部和底部分别固接于两个滑套(202)的外壁,两个所述滑套(202)的左侧均固接有卡杆(205),两个所述卡杆(205)的外壁卡接有卡槽框(206),两个所述卡槽框(206)分别固接于左侧的模板(1)的外壁前后端面。

2.根据权利要求1所述的一种刺铁丝隔离栅基础组合式模板,其特征在于:所述滑杆(201)为方形滑杆。

3.根据权利要求1所述的一种刺铁丝隔离栅基础组合式模板,其特征在于:所述手柄(203)的外壁加工有磨纹。

4.根据权利要求1所述的一种刺铁丝隔离栅基础组合式模板,其特征在于:两个所述模板(1)的内壁设有阻碍机构(3);

所述阻碍机构(3)包括板体(301)、通口(302)和螺杆(303);

所述板体(301)的外壁与两个模板(1)的内壁间隙配合,所述板体(301)的底部开设有通口(302),所述板体(301)的顶部左右两侧分别固接有螺杆(303)。

5.根据权利要求4所述的一种刺铁丝隔离栅基础组合式模板,其特征在于:所述板体(301)的外壁与两个模板(1)的内壁同圆心分布。

6.根据权利要求1所述的一种刺铁丝隔离栅基础组合式模板,其特征在于:两个所述模板(1)的顶部均设有调节机构(4);

所述调节机构(4)包括凹槽框(401)、螺栓(402)、曲杆(403)、环型框(404)、套筒(405)和把手(406);

两个所述凹槽框(401)分别贴合于两个模板(1)的外壁顶部,所述凹槽框(401)通过螺栓(402)与模板(1)的外壁顶部螺纹相连,所述凹槽框(401)的顶部固接有曲杆(403),所述曲杆(403)的内侧固接有环型框(404),所述环型框(404)通过轴承转动相连有套筒(405),所述套筒(405)的内壁与螺杆(303)的外壁螺纹相连,所述套筒(405)的外壁固接有把手(406)。