欢迎来到知嘟嘟! 联系电话:13336804447 卖家免费入驻,海量在线求购! 卖家免费入驻,海量在线求购!
知嘟嘟
我要发布
联系电话:13336804447
知嘟嘟经纪人
收藏
专利号: 2023210624468
申请人: 潍坊诺德生物科技有限公司
专利类型:实用新型
专利状态:已下证
专利领域: 一般的物理或化学的方法或装置
更新日期:2025-04-15
缴费截止日期: 暂无
价格&联系人
年费信息
委托购买

摘要:

权利要求书:

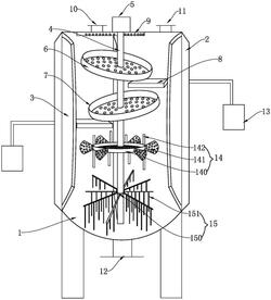
1.一种液体肥料生产用过滤浓缩装置,其特征在于:包括本体,所述本体的顶部设有进料口和排空口,所述本体的底部设有出料口;所述本体的外部设有夹套,所述本体的内部设有多个与所述夹套相连通的加热部件,相邻两个所述加热部件之间设有间隙;所述多个加热部件所包围的区域中心设有转轴,所述转轴的一端连接电机,所述转轴的上部设有第一过滤部件和第二过滤部件,所述第一过滤部件和所述第二过滤部件的下方一侧分别设有原料收集槽,所述第二过滤部件的下方设有第一搅拌部件和第二搅拌部件。

2.根据权利要求1所述的一种液体肥料生产用过滤浓缩装置,其特征在于:所述加热部件为中空结构的弧形块,所述弧形块通过连接管连通所述夹套。

3.根据权利要求1所述的一种液体肥料生产用过滤浓缩装置,其特征在于:所述第一过滤部件和所述第二过滤部件包括倾斜设置在所述转轴上的滤盘,所述滤盘的低端下方设有原料收集槽,所述滤盘的上方设有冲洗管,所述原料收集槽通过管道连通原料回收罐。

4.根据权利要求1所述的一种液体肥料生产用过滤浓缩装置,其特征在于:所述第一搅拌部件包括搅拌盘,所述搅拌盘上设有多个通孔,所述搅拌盘的外围设有多个第一辅助搅拌部,相邻两个第一辅助搅拌部之间设有第二辅助搅拌部。

5.根据权利要求4所述的一种液体肥料生产用过滤浓缩装置,其特征在于:所述第一辅助搅拌部为扇形或梯形的搅拌板,所述搅拌板上设有多个通孔。

6.根据权利要求4所述的一种液体肥料生产用过滤浓缩装置,其特征在于:所述第二辅助搅拌部为多个高度不等的搅拌棒。

7.根据权利要求1所述的一种液体肥料生产用过滤浓缩装置,其特征在于:所述第二搅拌部件包括呈米字形的搅拌框,所述搅拌框的下方设有多个高度不等的搅拌杆。