欢迎来到知嘟嘟! 联系电话:13336804447 卖家免费入驻,海量在线求购! 卖家免费入驻,海量在线求购!
知嘟嘟
我要发布
联系电话:13336804447
知嘟嘟经纪人
收藏
专利号: 2022208952421
申请人: 河南东大科技股份有限公司
专利类型:实用新型
专利状态:已下证
专利领域: 一般的物理或化学的方法或装置
更新日期:2023-10-19
缴费截止日期: 暂无
价格&联系人
年费信息
委托购买

摘要:

权利要求书:

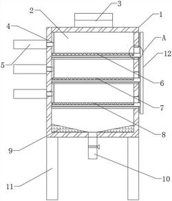
1.一种液体肥加工过滤装置,包括主体装置(1),其特征在于:所述主体装置(1)的内部设置有过滤箱体(2),所述过滤箱体(2)的内壁活动连接有第一滤板(6),所述第一滤板(6)的上表面开设有安装孔(20);

所述安装孔(20)的内壁活动连接有安装杆(21),所述安装杆(21)的底端固定连接有移动底架(17),所述移动底架(17)的底面活动连接有滑轨(18);

所述移动底架(17)的右端固定连接有封闭门(12),所述封闭门(12)的左侧固定连接有密封条(13),所述过滤箱体(2)的右侧开设有密封槽(14),所述密封槽(14)的内壁活动连接有密封块(15)。

2.根据权利要求1所述的一种液体肥加工过滤装置,其特征在于:所述滑轨(18)的一侧与所述过滤箱体(2)的内壁固定连接,所述第一滤板(6)的下方设置有第二滤板(7),所述第二滤板(7)的下方设置有第三滤板(8),所述第一滤板(6)的底面与所述移动底架(17)的上表面活动连接。

3.根据权利要求1所述的一种液体肥加工过滤装置,其特征在于:所述密封块(15)的右侧与所述封闭门(12)的左侧固定连接,所述封闭门(12)的一侧固定连接有横移液压杆(19)。

4.根据权利要求1所述的一种液体肥加工过滤装置,其特征在于:所述过滤箱体(2)的内壁活动连接有侧位刮板(4),所述侧位刮板(4)的底面与所述第一滤板(6)的上表面活动连接,所述侧位刮板(4)的左侧固定连接有清理液压杆(5)。

5.根据权利要求1所述的一种液体肥加工过滤装置,其特征在于:所述过滤箱体(2)的上表面固定连接有进料口(3),所述过滤箱体(2)的底面固定连接有支撑架(11)。

6.根据权利要求1所述的一种液体肥加工过滤装置,其特征在于:所述过滤箱体(2)的内壁底面固定连接有导流底块(9),所述过滤箱体(2)的底面中心处固定连接有出料管(10),所述出料管(10)的外壁固定连接有控制阀。