欢迎来到知嘟嘟! 联系电话:13336804447 卖家免费入驻,海量在线求购! 卖家免费入驻,海量在线求购!
知嘟嘟
我要发布
联系电话:13336804447
知嘟嘟经纪人
收藏
专利号: 2023206883258
申请人: 湖南科技学院
专利类型:实用新型
专利状态:已下证
专利领域: 测量;测试
更新日期:2024-01-16
缴费截止日期: 暂无
价格&联系人
年费信息
委托购买

摘要:

权利要求书:

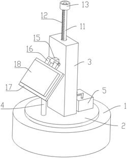
1.一种用于无人机高精度航测的测量杆,包括底座筒和圆盘,其特征在于:圆盘的顶部分别安装有空腔箱、电动液压推杆和蓄电池,空腔箱的内顶壁安装有第一伺服电机,第一伺服电机的输出端安装有与第一伺服电机输出端轴芯为同一圆心的螺纹杆,螺纹杆的外表面传动连接有螺纹环块,螺纹环块的一侧面安装有升降板,升降板的一侧面安装有定位滑块,升降板的顶部安装有测量杆,测量杆的外表面设置有刻度,测量杆的顶部安装有定位灯,空腔箱的内壁安装有条形板,空腔箱的前面安装有固定块,固定块通过轴杆转动连接有配合块,配合块的端部安装有调节板,调节板的顶部安装有光伏组件,调节板的底部安装有矩形板,电动液压推杆的活动端通过轴杆转动连接有凸型滑块,底座筒的内底壁安装有第二伺服电机,第二伺服电机的输出端安装有与第二伺服电机输出端轴芯为同一圆心的第一锥齿轮,底座筒的内底壁设置有可转动的圆杆,圆杆的外表面安装有与圆杆为同一圆心的第二锥齿轮,圆盘的外表面安装有环形滑块。

2.根据权利要求1所述的一种用于无人机高精度航测的测量杆,其特征在于:条形板的一侧面开设有以前后方向为深度、上下方向为长度的定位滑槽,定位滑块的端部位于定位滑槽的内部,定位滑块可沿定位滑槽的长度方向滑动。

3.根据权利要求1所述的一种用于无人机高精度航测的测量杆,其特征在于:圆盘安装在圆杆的顶部,且底座筒、圆杆、圆盘和环形滑块为同一圆心。

4.根据权利要求1所述的一种用于无人机高精度航测的测量杆,其特征在于:矩形板的内部开设有凸型滑槽,凸型滑块的端部位于凸型滑槽的内部,凸型滑块可沿凸型滑槽的长度方向滑动。

5.根据权利要求1所述的一种用于无人机高精度航测的测量杆,其特征在于:第一锥齿轮通过齿牙与第二锥齿轮啮合,圆盘的端部位于底座筒的内部。

6.根据权利要求1所述的一种用于无人机高精度航测的测量杆,其特征在于:底座筒的内表面开设有以上下方向为深度的环形滑槽,环形滑块的端部位于环形滑槽的内部。

7.根据权利要求1所述的一种用于无人机高精度航测的测量杆,其特征在于:螺纹杆通过轴承与空腔箱的内底壁转动连接,蓄电池通过导线分别与电动液压推杆、第一伺服电机、定位灯、光伏组件和第二伺服电机电性连接。