欢迎来到知嘟嘟! 联系电话:13095918853 卖家免费入驻,海量在线求购! 卖家免费入驻,海量在线求购!
知嘟嘟
我要发布
联系电话:13095918853
知嘟嘟经纪人
收藏
专利号: 2018110882478
申请人: 龙岩智康太阳能科技有限公司
专利类型:发明专利
专利状态:已下证
专利领域: 工程元件或部件;为产生和保持机器或设备的有效运行的一般措施;一般绝热
更新日期:2025-06-16
缴费截止日期: 暂无
价格&联系人
年费信息
委托购买

摘要:

权利要求书:

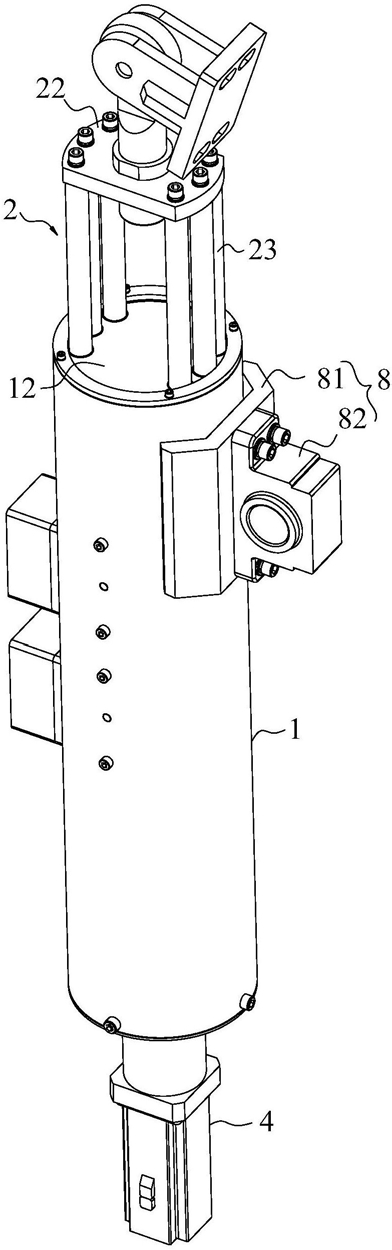
1.一种高精度推杆,包括套筒、推动件、丝杆和驱动机构,所述推动件包括内活动座、外活动座和若干连接杆,所述内活动座设于所述套筒内且与所述丝杆螺纹连接,各所述连接杆的内端与所述内活动座固定连接,各所述连接杆的外端穿过所述套筒的外端并与所述外活动座连接,所述丝杆的外端转动连接于所述套筒的外端,所述驱动机构固定于所述套筒的内端且与所述丝杆的内端连接以驱动所述丝杆转动,其特征在于:所述套筒内还设有弹性限位组件,所述弹性限位组件包括弹性件、盖板、压环和限位轴承,所述弹性件环设于所述丝杆上且所述弹性件的一端与所述套筒的内端沿轴向抵接,所述盖板中间设有供所述丝杆穿过的通孔,所述盖板环设于所述丝杆上且与所述弹性件的另一端抵接,所述限位轴承为至少能够承受轴向作用力的限位轴承,所述限位轴承可转动地套设于所述丝杆的内端以限制所述丝杆的位置,所述限位轴承安装于所述套筒的内壁,所述压环环设于所述丝杆上且所述压环的两端分别与所述限位轴承和所述盖板抵接,所述限位轴承的两个轴向端面分别轴向抵设于所述丝杆上的限位结构与所述压环,所述弹性件用于通过其自身的弹性力使得盖板、压环和限位轴承向套筒的外端移动进而压紧丝杆;所述丝杆的内端还设有用于将限位轴承固定于丝杆的内端的安装组件。

2.根据权利要求1所述的高精度推杆,其特征在于:所述套筒的内端还设有外圆周面具有外螺纹的调节螺母,所述调节螺母与所述套筒螺纹连接且所述调节螺母靠近所述套筒外端的一端与所述弹性件抵接,所述调节螺母的中间设有用于拧转所述调节螺母并提供所述驱动机构动力传递空间的拧转通孔。

3.根据权利要求1所述的高精度推杆,其特征在于:所述弹性件为套设于所述丝杆上的弹性塑料环、弹性橡胶环或者压簧。

4.根据权利要求1所述的高精度推杆,其特征在于:所述限位轴承为端面轴承、单个圆锥滚子轴承或者一对相对设置的圆锥滚子轴承。

5.根据权利要求1至4任一项所述的高精度推杆,其特征在于:所述丝杆的内端设有定位轴肩,所述定位轴肩的限位面朝向所述套筒的内端,所述安装组件包括套环、固定环和紧固螺丝,所述套环套设于所述丝杆的内端并与所述定位轴肩的限位面抵接,且所述套环的与所述限位面抵接一端设有限位环,所述固定环套设于所述丝杆上且位于所述套环的远离所述限位面的一端,所述固定环的外径大于所述套环的外径,所述紧固螺丝与所述丝杆螺纹连接并与所述固定环的远离所述套环的一端抵接,所述限位轴承套设于所述套环上且所述限位轴承的两端分别与所述限位环和所述固定环抵接。

6.根据权利要求1至4任一项所述的高精度推杆,其特征在于:所述套筒内还设置有平行于所述连接杆的滑轨,所述内活动座包括第一滑动板、第二滑动板和套设于所述丝杆上且与所述丝杆螺纹连接的驱动螺母,所述第一滑动板和所述第二滑动板分别设置于所述驱动螺母两端,所述第一滑动板和所述第二滑动板上均设有与所述滑轨相适配的滑槽。

7.根据权利要求6所述的高精度推杆,其特征在于:所述内活动座还包括两块连接板,所述第一滑动板与所述驱动螺母的一端固定连接,所述第二滑动板套设于所述驱动螺母的另一端,两所述连接板以所述驱动螺母的轴线对称设置并且两所述连接板的两端均分别与所述第一滑动板和所述第二滑动板固定连接。

8.根据权利要求7所述的高精度推杆,其特征在于:所述滑轨的数量为两个且对称设置于所述丝杆两侧,所述第一滑动板和所述第二滑动板上均设有两个分别与两所述滑轨一一对应的滑槽。

9.根据权利要求1至4任一项所述的高精度推杆,其特征在于:所述驱动机构包括电机和联轴器,所述电机的主轴通过所述联轴器与所述丝杆的内端连接。

10.根据权利要求1至4任一项所述的高精度推杆,其特征在于:所述套筒的外壁上设有铰接座,所述铰接座包括焊接座和固定于所述焊接座上且用于与铰接轴旋转连接的转轴座,焊接座包括第一焊接板、第二焊接板和第三焊接板,所述第一焊接板和所述第二焊接板分别固定连接于所述第三焊接板的两端,所述第一焊接板、所述第二焊接板和所述第三焊接板均与所述套筒的外壁相切且均与所述套筒的外壁焊接。