欢迎来到知嘟嘟! 联系电话:13336804447 卖家免费入驻,海量在线求购! 卖家免费入驻,海量在线求购!
知嘟嘟
我要发布
联系电话:13336804447
知嘟嘟经纪人
收藏
专利号: 2023206453029
申请人: 大同天晟电气有限公司
专利类型:实用新型
专利状态:已下证
专利领域: 基本电气元件
更新日期:2024-02-23
缴费截止日期: 暂无
价格&联系人
年费信息
委托购买

摘要:

权利要求书:

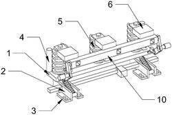
1.接地开关辅助开关切换装置,包括固定板(1)和接固头(6),其特征在于:所述固定板(1)下表面两端均固定安装有接触板(2),所述接触板(2)两端均设置有固地板(3),所述固定板(1)上表面一端设置有接地开关本体(5),所述固定板(1)一端拆卸安装有切换组件(10),所述固定板(1)上表面两端均设置有缠线杆(4),所述接固头(6)一端设置有切换开关(7),所述切换开关(7)与切换组件(10)相对应连接。

2.如权利要求1所述的接地开关辅助开关切换装置,其特征在于:所述接固头(6)一端开设有滑动槽(8),所述滑动槽(8)内滑动安装有滑动块(9),所述滑动块(9)另一端固定连接于切换组件(10)一端。

3.如权利要求1所述的接地开关辅助开关切换装置,其特征在于:所述切换组件(10)包括连固板(1001),所述连固板(1001)拆卸安装于固定板(1)一端,所述连固板(1001)一端插接有插固螺栓(1002),所述插固螺栓(1002)另一端插接于固定板(1)一端。

4.如权利要求3所述的接地开关辅助开关切换装置,其特征在于:所述连固板(1001)另一端固定安装有第一摆动杆(1003),所述第一摆动杆(1003)另一端活动安装有活动轴(1004),所述活动轴(1004)另一端活动连接有第二摆动杆(1005)。

5.如权利要求4所述的接地开关辅助开关切换装置,其特征在于:所述第二摆动杆(1005)另一端设置有拉动杆(1006),所述拉动杆(1006)一端设置有橡胶套块(1007)。

6.如权利要求5所述的接地开关辅助开关切换装置,其特征在于:所述第二摆动杆(1005)另一端活动连接有连固杆(1008),所述连固杆(1008)另一端固定安装有连接块(1009),所述连接块(1009)另一端固定连接于滑动块(9)一端。

7.如权利要求6所述的接地开关辅助开关切换装置,其特征在于:所述连接块(1009)一端开设有多组凹孔,所述凹孔内壁上下两端均固定安装有切换板(1010),所述切换板(1010)另一端固定连接于切换开关(7)一端。

我要求购
我不想找了,帮我找吧
您有专利需要变现?
我要出售
智能匹配需求,快速出售