欢迎来到知嘟嘟! 联系电话:13336804447 卖家免费入驻,海量在线求购! 卖家免费入驻,海量在线求购!
知嘟嘟
我要发布
联系电话:13336804447
知嘟嘟经纪人
收藏
专利号: 2012105583996
申请人: 重庆长安汽车股份有限公司
专利类型:发明专利
专利状态:已下证
专利领域: 基本电气元件
更新日期:2024-03-22
缴费截止日期: 暂无
价格&联系人
年费信息
委托购买

摘要:

权利要求书:

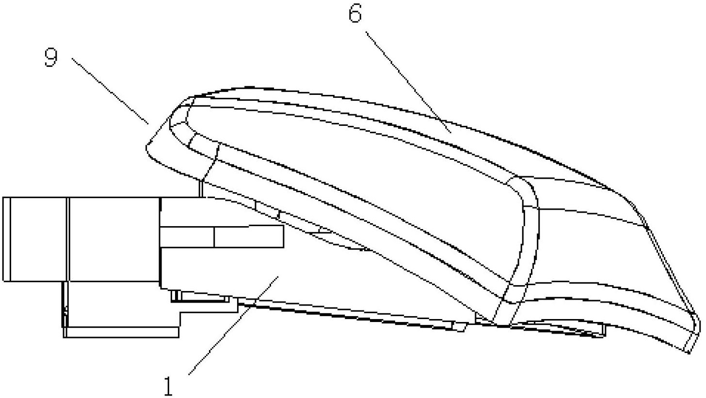
1.一种仪表切换开关,包括壳体(1)、接插件(2)、线路板(3)、微动开关(4)、指示灯(5)和开关按钮(6),其特征在于:所述接插件(2)、微动开关(4)和指示灯(5)固定在线路板(3)上,并分别与线路板(3)电连接,线路板(3)固定在壳体(1)内,所述壳体(1)上设有与组合仪表罩(7)连接的固定卡子(13),所述开关按钮(6)通过旋转轴(15)与壳体(1)连接,旋转开关按钮(6)能导通和断开所述微动开关(4)。

2.根据权利要求1所述的仪表切换开关,其特征在于:所述固定卡子(13)为两个,设置在壳体(1)的一端,所述旋转轴(15)为两个,对称设置在壳体(1)另一端的两侧,在开关按钮(6)的两侧分别设有开关按钮安装孔(10),开关按钮(6)通过两个开关按钮安装孔(10)、两个旋转轴(15)与壳体(1)连接。

3.根据权利要求1所述的仪表切换开关,其特征在于:所述开关按钮(6)上在于微动开关(4)相对的位置设有开关顶柱(19),旋转开关按钮(6)时,通过开关顶柱(19)将操作的力传递到微动开关(4),实现微动开关(4)的导通和断开。

4.根据权利要求1至3任一所述的仪表切换开关,其特征在于:所述开关按钮(6)上设有向下延伸的按钮导向柱(20),在壳体(1)上开有与按钮导向柱(20)对应配合的开关按钮导向孔(17),在线路板(3)上开有与按钮导向柱(20)对应配合的线路板过孔(11)。

5.根据权利要求1至3任一所述的仪表切换开关,其特征在于:所述壳体(1)的中部,在靠近固定卡子(13)的两侧分别设有安装导向柱(18)。

6.根据权利要求1至3任一所述的仪表切换开关,其特征在于:所述接插件(2)、微动开关(4)和指示灯(5)通过焊接固定在线路板(3)上,该线路板(3)上开有线路板安装孔(12),在壳体(1)上设有与该线路板安装孔(12)对应的安装柱(16),线路板(3)通过该线路板安装孔(12)、安装柱(16)用螺钉固定安装在壳体(1)。

7.根据权利要求1至3任一所述的仪表切换开关,其特征在于:在壳体(1)上设有四个限位凸台(14),对线路板(3)限位。

8.根据权利要求1至3任一所述的仪表切换开关,其特征在于:所述开关按钮(6)上移印或雕刻有开关字符,当线路板(3)上的指示灯(5)接通电源时,能实现开关按钮(6)上开关字符的透光。