欢迎来到知嘟嘟! 联系电话:13336804447 卖家免费入驻,海量在线求购! 卖家免费入驻,海量在线求购!
知嘟嘟
我要发布
联系电话:13336804447
知嘟嘟经纪人
收藏
专利号: 2023205570044
申请人: 山东省产品质量检验研究院
专利类型:实用新型
专利状态:已下证
专利领域: 测量;测试
更新日期:2025-04-15
缴费截止日期: 暂无
价格&联系人
年费信息
委托购买

摘要:

权利要求书:

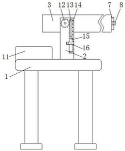
1.一种枪械玩具动能检测器,包括:用于起支撑作用的底座(1)、底座(1)中部上表面固定连接的支撑板(2)及支撑板(2)上端内侧转动连接的中空管(3)和中空管(3)后固定连接的齿轮(12);

其特征在于,还包括:

所述底座(1)的左后端内侧镶嵌安装有显示器(9)和控制器(10),且底座(1)的左端内侧嵌套贴合设置有收集盒(11);

所述中空管(3)的左前端内侧固定连接有固定杆(4),且固定杆(4)的中部外侧设置有与之卡合贯穿的承接板(5);

所述齿轮(12)的前侧啮合连接有齿条(13),且齿条(13)的前侧贴合设置有与支撑板(2)固定的连接板(14)。

2.根据权利要求1所述的一种枪械玩具动能检测器,其特征在于:所述承接板(5)的前后两侧均与中空管(3)为贴合连接,且承接板(5)的后端内部贯穿有与之螺纹连接的调节杆(6);

其中,所述调节杆(6)与底座(1)为卡合不可拆卸结构,且承接板(5)的中部内侧呈弧状结构。

3.根据权利要求1所述的一种枪械玩具动能检测器,其特征在于:所述中空管(3)的右侧依次贴合设置有压力传感器(7)和第一限位板(8),且第一限位板(8)的前端与中空管(3)为转动连接;

其中,所述第一限位板(8)的后端与中空管(3)为螺钉固定连接,且收集盒(11)位于中空管(3)的左下方。

4.根据权利要求1所述的一种枪械玩具动能检测器,其特征在于:所述齿条(13)的下侧固定连接有与连接板(14)卡扣的电动伸缩杆(15),且电动伸缩杆(15)的中部外侧贴合设置有与连接板(14)转动连接的第二限位板(16),并且第二限位板(16)的左端与呈“U”字型结构的支撑板(2)为螺钉固定连接。

我要求购
我不想找了,帮我找吧
您有专利需要变现?
我要出售
智能匹配需求,快速出售