欢迎来到知嘟嘟! 联系电话:13336804447 卖家免费入驻,海量在线求购! 卖家免费入驻,海量在线求购!
知嘟嘟
我要发布
联系电话:13336804447
知嘟嘟经纪人
收藏
专利号: 2023204796700
申请人: 山东省产品质量检验研究院
专利类型:实用新型
专利状态:已下证
专利领域: 测量;测试
更新日期:2025-01-09
缴费截止日期: 暂无
价格&联系人
年费信息
委托购买

摘要:

权利要求书:

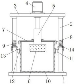
1.一种儿童玩具的强度检测器,包括:

底座(1),所述底座(1)放置在桌面,且底座(1)的上方安装有液压杆(4);

其特征在于,还包括:

支撑柱(2),所述支撑柱(2)的外侧设置有定位机构,其中包括限位杆(12)、调节环(13)和定位环(14);

检测锤(6),所述检测锤(6)的上方设置有防护机构,其中包括连接柱(5)、盖板(7)和磁板(8)。

2.根据权利要求1所述的一种儿童玩具的强度检测器,其特征在于:所述底座(1)的上方固定有支撑柱(2),且支撑柱(2)左右对称分布,所述支撑柱(2)的上端焊接有顶板(3),且顶板(3)的上方安装有液压杆(4)。

3.根据权利要求2所述的一种儿童玩具的强度检测器,其特征在于:所述液压杆(4)的输出端安装有连接柱(5),且连接柱(5)的下端一体化设置有检测锤(6),所述连接柱(5)的外侧卡槽连接有盖板(7),且盖板(7)的左右两侧均焊接有磁板(8)。

4.根据权利要求3所述的一种儿童玩具的强度检测器,其特征在于:所述磁板(8)的外侧卡槽连接有限位框(9),且限位框(9)的内侧一体化设置有透明检测箱(10),所述磁板(8)和限位框(9)实现磁性连接,且限位框(9)左右对称分布。

5.根据权利要求4所述的一种儿童玩具的强度检测器,其特征在于:所述透明检测箱(10)的左右两侧均焊接有固定架(11),且固定架(11)的内部卡槽连接有限位杆(12),所述限位杆(12)的上端固定有调节环(13),且调节环(13)卡槽连接在支撑柱(2)的外侧。

6.根据权利要求5所述的一种儿童玩具的强度检测器,其特征在于:所述调节环(13)的上方紧密贴合有定位环(14),且定位环(14)和支撑柱(2)实现螺纹连接,所述调节环(13)的下方紧密贴合有固定块(15),且固定块(15)焊接在支撑柱(2)上。

我要求购
我不想找了,帮我找吧
您有专利需要变现?
我要出售
智能匹配需求,快速出售