欢迎来到知嘟嘟! 联系电话:13336804447 卖家免费入驻,海量在线求购! 卖家免费入驻,海量在线求购!
知嘟嘟
我要发布
联系电话:13336804447
知嘟嘟经纪人
收藏
专利号: 202320456608X
申请人: 徐州富邦木业有限公司
专利类型:实用新型
专利状态:已下证
专利领域: 装饰艺术
更新日期:2024-11-14
缴费截止日期: 暂无
价格&联系人
年费信息
委托购买

摘要:

权利要求书:

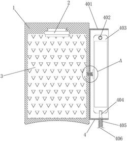
1.一种带有皮革的画板,其特征在于:包括:

画板本体(1),画板本体(1)的前侧设有夹子本体(2),画板本体(1)的前侧开设有凹槽,凹槽的内壁固定安装有皮革板(3);

收纳组件(4),包括收纳箱(401)、转动杆(402)和收纳板(403),画板本体(1)的一侧固定安装有收纳箱(401),收纳箱(401)的前侧内壁与后侧内壁转动安装有转动杆(402),转动杆(402)的外壁固定安装有收纳板(403)。

2.根据权利要求1所述的一种带有皮革的画板,其特征在于:所述收纳组件(4)还包括限位滑杆(404)、弹簧(405)、固定底板(406)、挤压弹簧(407)和挤压板(408),画板本体(1)的一侧开设有U型槽,U型槽的一侧内壁固定安装有挤压弹簧(407),挤压弹簧(407)的一端延伸至收纳箱(401)的内部且固定安装有挤压板(408),收纳箱(401)的内部开设有可供挤压弹簧(407)活动的开口,收纳箱(401)的底部滑动安装有限位滑杆(404),限位滑杆(404)的底部固定安装有固定底板(406),固定底板(406)的顶部固定安装有弹簧(405),弹簧(405)的顶部与收纳箱(401)的底部固定安装。

3.根据权利要求2所述的一种带有皮革的画板,其特征在于:所述画板本体(1)的底部呈半圆弧型设置且画板本体(1)的四角均设为圆弧形。

4.根据权利要求3所述的一种带有皮革的画板,其特征在于:所述收纳板(403)的底部开设有可供限位滑杆(404)活动的开口,限位滑杆(404)的一端延伸至收纳箱(401)的内部且位于收纳板(403)上的开口内。

5.根据权利要求4所述的一种带有皮革的画板,其特征在于:所述弹簧(405)的内壁与限位滑杆(404)的外壁相接触且不固定。

6.根据权利要求5所述的一种带有皮革的画板,其特征在于:所述收纳板(403)的前侧开设有放置凹槽。

我要求购
我不想找了,帮我找吧
您有专利需要变现?
我要出售
智能匹配需求,快速出售