欢迎来到知嘟嘟! 联系电话:13336804447 卖家免费入驻,海量在线求购! 卖家免费入驻,海量在线求购!
知嘟嘟
我要发布
联系电话:13336804447
知嘟嘟经纪人
收藏
专利号: 2023203691171
专利类型:实用新型
专利状态:未下证
专利领域: 暂无
更新日期:2024-01-08
缴费截止日期: 暂无
价格&联系人
年费信息
委托购买

摘要:

权利要求书:

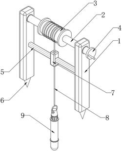
1.一种地下水取样装置,包括取样瓶(9)以及两个支架(1),其特征在于:两个支架(1)之间安装有收放组件,取样瓶(9)包括悬吊盖(901),悬吊盖(901)的顶部设置有悬吊环(905),悬吊盖(901)的底部固定连接有卡杆(904)和多个等距对称设置的支撑条(902),多个支撑条(902)的底部共同固定连接有第一螺纹筒(903),第一螺纹筒(903)的外围螺纹套设有储水筒(915),储水筒(915)的内壁滑动连接有滑块(906),储水筒(915)的内壁固定连接有支撑板(908)、过滤板(909)以及取水管(911),支撑板(908)和滑块(906)之间固定连接有多个弹簧(907),取水管(911)的底部内壁转动连接有密封阀门(912),密封阀门(912)的一侧固定连接有阀门把手(913),且阀门把手(913)贯穿式转动插接在取水管(911)的外围,储水筒(915)的底部固定连接有第二螺纹筒(910),第二螺纹筒(910)的外围螺纹套设有配重块(914),所述收放组件通过麻绳(8)与悬吊环(905)相连接。

2.根据权利要求1所述的一种地下水取样装置,其特征在于,所述支架(1)的底部固定连接有底脚(6),且底脚(6)设置为圆锥形。

3.根据权利要求1所述的一种地下水取样装置,其特征在于,所述收放组件包括转动连接在两个支架(1)之间的转动杆(2),转动杆(2)的外围固定套设有绕线辊(3),且绕线辊(3)上缠绕有麻绳(8),转动杆(2)远离绕线辊(3)的一端固定连接有转动把手(4)。

4.根据权利要求3所述的一种地下水取样装置,其特征在于,所述收放组件还包括固定连接在两个支架(1)之间的两个支撑杆(5),两个支撑杆(5)之间固定连接有限位块(7),限位块(7)的内部纵向开设有通孔,麻绳(8)活动贯穿通孔。

5.根据权利要求1所述的一种地下水取样装置,其特征在于,所述过滤板(909)的内部均匀开设有多个透水孔。

6.根据权利要求1所述的一种地下水取样装置,其特征在于,所述密封阀门(912)的直径等于取水管(911)的内壁直径,且两端均套设有密封胶圈。

7.根据权利要求1所述的一种地下水取样装置,其特征在于,所述滑块(906)的顶端开设有锥形槽,且锥形槽与卡杆(904)相匹配。