欢迎来到知嘟嘟! 联系电话:13336804447 卖家免费入驻,海量在线求购! 卖家免费入驻,海量在线求购!
知嘟嘟
我要发布
联系电话:13336804447
知嘟嘟经纪人
收藏
专利号: 2021100614450
申请人: 姚宸智
专利类型:发明专利
专利状态:已下证
专利领域: 测量;测试
更新日期:2024-05-10
缴费截止日期: 暂无
价格&联系人
年费信息
委托购买

摘要:

权利要求书:

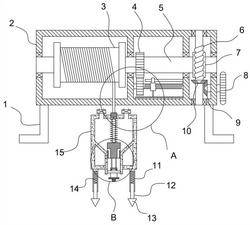
1.一种地下水检测用取样装置,包括支撑腿(1),支撑腿(1)上固定有支撑架(2),支撑架(2)上转动安装有手轮(8),其特征在于,所述手轮(8)上传动连接有转动设置在支撑架(2)内的绕卷机构,所述绕卷机构上绕设有钢丝绳(16),所述绕卷机构上传动连接有用于标记钢丝绳(16)放设长度的标记机构,所述钢丝绳(16)底部固定有连接螺柱(27),连接螺柱(27)上螺纹连接安装有沉降筒(15),沉降筒(15)内固定有取样机构,所述沉降筒(15)底部竖直固定安装有防触底机构。

2.根据权利要求1所述的地下水检测用取样装置,其特征在于,所述绕卷机构包括转动安装在支撑架(2)内的旋转轴(5),旋转轴(5)上套设固定有绕卷辊(3),所述钢丝绳(16)绕卷在绕卷辊(3)上。

3.根据权利要求3所述的地下水检测用取样装置,其特征在于,所述绕卷机构还包括与手轮(8)同轴固定的锥齿轮I(9),锥齿轮I(9)上啮合连接有锥齿轮II(10),锥齿轮II(10)上同轴固定有蜗杆(6),蜗杆(6)上啮合连接有与旋转轴(5)同轴固定的蜗轮(7)。

4.根据权利要求2所述的地下水检测用取样装置,其特征在于,所述标记机构包括固定在支撑架(2)上的刻度尺(23),所述支撑架(2)内转动安装有与刻度尺(23)平行设置的螺纹杆(22),螺纹杆(22)上螺纹套接有螺纹套块(21),所述螺纹套块(21)底部竖直固定有与指向刻度尺(23)的指针(24)。

5.根据权利要求4所述的地下水检测用取样装置,其特征在于,所述标记机构还包括套设固定在旋转轴(5)上的主动齿轮(4),主动齿轮(4)上啮合连接有从动齿轮(18),所述从动齿轮(18)与螺纹杆(22)同轴固定,所述支撑架(2)上横向固定有导杆(20),导杆(20)上滑动套设有与螺纹套块(21)固定的滑套(19)。

6.根据权利要求1所述的地下水检测用取样装置,其特征在于,所述取样机构包括固定在沉降筒(15)上的取样锥筒(29),取样锥筒(29)底部连通安装有竖直贯穿沉降筒(15)的竖直管(31),所述竖直管(31)内竖直密封滑动安装有活塞柱(28),活塞柱(28)内开设有使取样锥筒(29)与竖直管(31)导通的导流通道(30),所述取样锥筒(29)内竖直固定有供活塞柱(28)滑动套设的立柱(26),立柱(26)与取样锥筒(29)之间固定有调节弹簧(25)。

7.根据权利要求6所述的地下水检测用取样装置,其特征在于,所述取样机构还包括固定在竖直管(31)上的限位板(17),限位板(17)上转动安装有螺纹套接在立柱(26)上的调节套管(34),所述活塞柱(28)底部固定有套设在立柱(26)上的连接套管(33),连接套管(33)下端固定有连接板(32),连接板(32)底部固定有环向滑动嵌设在调节套管(34)上的T字滑块(35)。

8.根据权利要求1所述的地下水检测用取样装置,其特征在于,所述防触底机构包括竖直固定在沉降筒(15)底部的竖直套筒(11),竖直套筒(11)内竖直滑动安装有滑杆(12),滑杆(12)与竖直套筒(11)之间固定有弹簧(14),所述滑杆(12)底部固定有铅块(13)。