欢迎来到知嘟嘟! 联系电话:13336804447 卖家免费入驻,海量在线求购! 卖家免费入驻,海量在线求购!
知嘟嘟
我要发布
联系电话:13336804447
知嘟嘟经纪人
收藏
专利号: 2023200014386
申请人: 薛凤英
专利类型:实用新型
专利状态:已下证
专利领域: 工程元件或部件;为产生和保持机器或设备的有效运行的一般措施;一般绝热
更新日期:2024-06-12
缴费截止日期: 暂无
价格&联系人
年费信息
委托购买

摘要:

权利要求书:

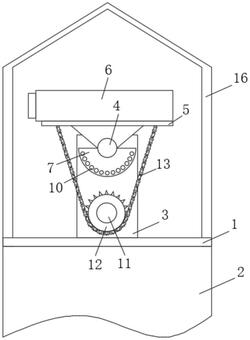
1.一种无人值守地震台站环境监测装置,包括固定块(1),所述固定块(1)的下表面固定连接有一个地震台站本体(2),其特征在于,所述固定块(1)的上表面呈对称状固定连接有两个安装块(3),两个所述安装块(3)的上端内壁共同转动连接有一根第一转动杆(4),所述第一转动杆(4)的外壁固定连接有一个三角支撑架(5),所述三角支撑架(5)的上表面固定连接有一个监控器(6);

所述三角支撑架(5)的下表面固定连接有一个弧形块(7),两个所述安装块(3)的内部位于弧形块(7)的一侧均贯穿开设有一个空腔(8),两个所述空腔(8)的内壁均滑动连接有一个限位块(9),所述弧形块(7)的两侧外壁相对于限位块(9)的位置均呈环绕状贯穿开设有若干个限位孔(10),且两个所述限位块(9)均贯穿延伸至对应的限位孔(10)内;

两个所述安装块(3)的内壁位于弧形块(7)的下方均共同转动连接有一根第二转动杆(11),所述第二转动杆(11)的外壁固定套接有一个齿轮(12),所述三角支撑架(5)的下表面两端共同固定连接有一根链条(13),且所述链条(13)与齿轮(12)相啮合。

2.根据权利要求1所述的一种无人值守地震台站环境监测装置,其特征在于:所述固定块(1)的上表面位于第二转动杆(11)的一侧固定连接有一个防水电机(14),且所述第二转动杆(11)的一端通过轴承贯穿延伸至对应的安装块(3)外并通过联轴器与防水电机(14)固定相连。

3.根据权利要求1所述的一种无人值守地震台站环境监测装置,其特征在于:两个所述限位块(9)位于空腔(8)内的一端均固定连接有一个弹簧(15),且两个所述弹簧(15)的另一端均与对应的安装块(3)固定相连。

4.根据权利要求1所述的一种无人值守地震台站环境监测装置,其特征在于:所述固定块(1)的上表面固定连接有一个挡雨棚(16)。

5.根据权利要求1所述的一种无人值守地震台站环境监测装置,其特征在于:所述弧形块(7)呈半圆状设置。