欢迎来到知嘟嘟! 联系电话:13336804447 卖家免费入驻,海量在线求购! 卖家免费入驻,海量在线求购!
知嘟嘟
我要发布
联系电话:13336804447
知嘟嘟经纪人
收藏
专利号: 2021232495997
申请人: 胡添鹏
专利类型:实用新型
专利状态:已下证
专利领域: 工程元件或部件;为产生和保持机器或设备的有效运行的一般措施;一般绝热
更新日期:2024-02-26
缴费截止日期: 暂无
价格&联系人
年费信息
委托购买

摘要:

权利要求书:

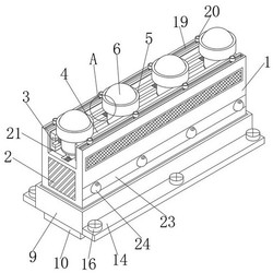
1.一种无人值守智能变电站监控装置,其特征在于,包括:监控架(1),所述监控架(1)的一端设置有控制架(2),所述监控架(1)内壁的一侧固定连接有第一侧架(3),所述监控架(1)内壁的另一侧固定连接有第二侧架(4),所述第一侧架(3)和第二侧架(4)的顶部设置有多个活动架(5),所述活动架(5)的顶部设置有监控探头(6),所述活动架(5)的底部固定连接有连接座(7),所述连接座(7)的两侧固定连接有卡接杆(8);

安装架(9),所述监控架(1)的底部固定连接有安装架(9),所述安装架(9)的内部设置有减震板(10),所述减震板(10)的一侧均匀设置有减震弹簧(11),所述减震板(10)的另一侧均匀设置有吸附盘(12),所述安装架(9)的内壁设置有阻尼套(13),所述安装架(9)的两侧固定连接有固定板(14)。

2.根据权利要求1所述的一种无人值守智能变电站监控装置,其特征在于:所述固定板(14)的表面均匀开设有螺孔(15),所述螺孔(15)的内部活动连接有安装螺栓(16)。

3.根据权利要求1所述的一种无人值守智能变电站监控装置,其特征在于:所述第一侧架(3)的内顶壁设置有第一阻尼条(17),所述第一侧架(3)的内底壁设置有第二阻尼条(18)。

4.根据权利要求1所述的一种无人值守智能变电站监控装置,其特征在于:所述监控架(1)顶部的两侧均开设有螺纹槽(19),所述螺纹槽(19)的内部活动连接有多个拧固栓(20)。

5.根据权利要求1所述的一种无人值守智能变电站监控装置,其特征在于:所述监控架(1)的内底壁开设有滑槽(21),所述连接座(7)的底部设置有滑块(22)。

6.根据权利要求1所述的一种无人值守智能变电站监控装置,其特征在于:所述监控架(1)的一测设置有接线板(23),所述接线板(23)的表面均匀设置有接线座(24)。