欢迎来到知嘟嘟! 联系电话:13336804447 卖家免费入驻,海量在线求购! 卖家免费入驻,海量在线求购!
知嘟嘟
我要发布
联系电话:13336804447
知嘟嘟经纪人
收藏
专利号: 202311388746X
申请人: 南昌航空大学
专利类型:发明专利
专利状态:已下证
专利领域: 机床;其他类目中不包括的金属加工
更新日期:2024-11-18
缴费截止日期: 暂无
价格&联系人
年费信息
委托购买

摘要:

权利要求书:

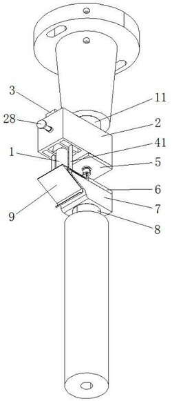
1.一种小V型结构件电阻点焊电极,其特征在于:包括滑座(2)、上电极(1)和下电极(7);

所述上电极(1)安装在滑座(2)内,所述滑座(2)内设置有中间贯通孔(25),所述滑座(2)内在所述中间贯通孔(25)的两侧还分别开设有贯通槽(29),所述中间贯通孔(25)内活动连接有连接套(21),所述上电极(1)可拆卸地连接在所述连接套(21)内;

所述中间贯通孔(25)内长轴两侧分别开设有横向的滑槽(22),所述滑槽(22)与所述贯通槽(29)连通,所述连接套(21)外侧对称的固定有四个滑块(23),所述滑块(23)滑动连接在对应的所述滑槽(22)内,所述滑块(23)的另一端延伸至所述贯通槽(29)内,每个所述贯通槽(29)内还分别设置有压紧板(4),所述压紧板(4)固定在所述滑块(23)的延伸端上,在所述滑块(23)和所述滑槽(22)的配合作用下完成所述连接套(21)在所述中间贯通孔(25)内的横向滑动连接;所述滑座(2)靠近所述连接套(21)的一侧壁上固定有贯通的螺纹筒(26),所述螺纹筒(26)内螺纹连接有螺纹调节杆(27),所述螺纹调节杆(27)的内侧端转动连接在所述连接套(21)的外侧中段处,所述螺纹调节杆(27)的外侧端固定有调节盘(28),所述连接套(21)内两短轴侧靠近底端处分别安装弧形簧片(24),所述弧形簧片(24)的底端固定在所述连接套(21)内,所述弧形簧片(24)的顶端滑动连接在所述连接套(21)内;

当所述连接套(21)沿所述中间贯通孔(25)移动时,能够带动所述上电极(1)移动,使所述上电极(1)能够满足不同焊点位置的焊接需要;

所述压紧板(4)上连接有压紧机构,所述压紧机构的最低端为压紧轮(42),所述压紧轮(42)与所述上电极(1)配合作业;

所述压紧机构包括压紧杆(41)、压紧轮(42)、转动轴套(43)、套杆(44)、外螺纹杆(46)、内螺纹筒(47)和连接杆(48),所述压紧杆(41)的顶端转动连接在所述压紧板(4)的侧面靠近底端处,所述压紧杆(41)的底端转动连接所述压紧轮(42),所述压紧板(4)的侧面靠近顶端处转动连接所述转动轴套(43),所述套杆(44)转动连接在所述转动轴套(43)内,所述套杆(44)的底端固定连接所述外螺纹杆(46),所述外螺纹杆(46)的底端转动连接在所述内螺纹筒(47)内,所述内螺纹筒(47)的底端固定连接所述连接杆(48),所述连接杆(48)的底端通过铰接座转动连接在所述压紧杆(41)的侧端;

所述滑座(2)另一侧上端连接有上电极握杆(11),所述上电极握杆(11)安装在上电极座上,所述滑座(2)上还设置有用于对上电极(1)紧固的预紧组件(3);

所述下电极(7)的焊接端为楔形结构,所述下电极(7)焊接端的根部为圆弧面过渡,从而能与小V型结构件(9)的侧壁焊接面贴合;

所述下电极(7)下端连接有下电极握杆(8),所述下电极握杆(8)安装在下电极座上,通过所述下电极握杆(8)能使所述下电极(7)的楔形结构上表面保持水平,使所述下电极(7)上表面与所述上电极(1)垂直,保证小V型结构件(9)侧壁焊接面在焊接时与压力方向垂直。

2.根据权利要求1所述的一种小V型结构件电阻点焊电极,其特征在于,所述压紧轮(42)的外周上开设有防滑纹,且所述压紧轮(42)的外侧涂有耐高温涂料,所述套杆(44)的顶端延伸至所述滑座(2)的顶端,且在所述套杆(44)的延伸端固定有调节旋钮(45),两个所述压紧机构呈中心对称设置。

3.根据权利要求1所述的一种小V型结构件电阻点焊电极,其特征在于,所述预紧组件(3)包括六角螺钉(31)、弹簧垫圈(32)和拉板(33),所述上电极(1)顶端开设有用于与所述六角螺钉(31)配合使用的螺纹盲孔,所述六角螺钉(31)贯穿弹簧垫圈(32)和所述拉板(33),所述拉板(33)的长度与所述滑座(2)的宽度相同,所述拉板(33)抵在所述滑座(2)的中间贯通孔(25)上方处。

4.根据权利要求1所述的一种小V型结构件电阻点焊电极,其特征在于,所述滑座(2)和所述下电极(7)内均设置1:10锥度的握杆连接槽,所述上电极握杆(11)的底端和所述下电极握杆(8)的顶端分别卡接在相应的所述握杆连接槽内。

5.根据权利要求1所述的一种小V型结构件电阻点焊电极,其特征在于,所述上电极(1)的材料导电率及导热系数优于所述下电极(7)的材料导电率及导热系数。

6.根据权利要求1所述的一种小V型结构件电阻点焊电极,其特征在于,所述上电极握杆(11)和所述下电极握杆(8)的外接端均为长锥端,且所述上电极握杆(11)的长锥端插入所述上电极座内,所述下电极握杆(8)的长锥端插入所述下电极座内。