欢迎来到知嘟嘟! 联系电话:13336804447 卖家免费入驻,海量在线求购! 卖家免费入驻,海量在线求购!
知嘟嘟
我要发布
联系电话:13336804447
知嘟嘟经纪人
收藏
专利号: 2024104475906
申请人: 沈阳松陵三航机械制造有限公司
专利类型:发明专利
专利状态:已下证
专利领域: 机床;其他类目中不包括的金属加工
更新日期:2025-03-24
缴费截止日期: 暂无
价格&联系人
年费信息
委托购买

摘要:

权利要求书:

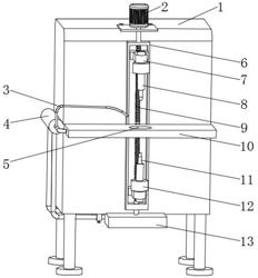
1.一种电阻点焊工装,包括电阻点焊机本体(1),其特征在于:所述电阻点焊机本体(1)前端面中部设有矩形框(6),所述矩形框(6)内转动设有双向丝杆(9),所述双向丝杆(9)顶部活动贯穿至矩形框(6)顶面并设有驱动电机(2),所述双向丝杆(9)底部活动贯穿至矩形框(6)底部并设有用于灰尘清理的清理机构,所述矩形框(6)前端面中部设有焊接台(10),所述焊接台(10)顶面中部开设有焊接口(5),所述双向丝杆(9)两端外壁上套设有滑块(16),所述滑块(16)内开设有矩形腔(23),所述矩形腔(23)内设有连接机构,所述滑块(16)前端面上设有焊接机构;

所述焊接机构包括设置在滑块(16)前端面上的连接板(7)和设置在连接板(7)前端面上的空心杆(17),所述空心杆(17)靠近焊接台(10)的一端设有环形筒(12),所述环形筒(12)靠近焊接台(10)的一端设有套筒(8),所述套筒(8)靠近焊接台(10)的一端滑动设有焊头(11),两个所述套筒(8)内均设有用于连接机构断开的断开组件;

所述连接机构包括对称滑动设置在矩形腔(23)内与双向丝杆(9)配合的半圆型螺纹套(21),所述半圆型螺纹套(21)与矩形腔(23)之间设有挤压弹簧(22),所述矩形腔(23)侧面上对称开设有矩形槽(24),所述矩形槽(24)内壁上对称开设有条形腔(19),所述条形腔(19)内滑动设有密封板(20),且所述密封板(20)与半圆型螺纹套(21)固接,所述密封板(20)外侧面上设有滑动板(25),且所述滑动板(25)与矩形槽(24)滑动设置;

所述断开组件包括滑动设置在环形筒(12)内的圆形推板(28),且所述圆形推板(28)与焊头(11)顶部固接,所述连接板(7)内部开设有与空心杆(17)连通的导液槽A(18),所述滑块(16)内开设有与连接机构中矩形槽(24)连通的导液槽B(26),且所述导液槽B(26)一端位于两个滑动板(25)之间,所述导液槽B(26)与导液槽A(18)连通,所述环形筒(12)、空心杆(17)、导液槽B(26)和导液槽A(18)内均充满有液压油;当焊头(11)与板材接触后,滑块(16)继续移动,会使焊头(11)向套筒(8)内移动,进而带动圆形推板(28)移动,从而将环形筒(12)内的液压油推出,然后液压油通过空心杆(17)进入导液槽A(18)和导液槽B(26)内,最后液压油进入两个滑动板(25)之间,使滑动板(25)移动,带动密封板(20)移动,从而使半圆型螺纹套(21)移动,使半圆型螺纹套(21)与双向丝杆(9)分离,停止焊头(11)的移动;

所述圆形推板(28)靠近焊头(11)的一侧面上开设有接触槽,所述环形筒(12)内壁上设有与接触槽配合的触发传感器(29),所述电阻点焊机本体(1)前端面底部设有与触发传感器(29)配套的控制设备,以控制焊头(11)通断电;

所述滑块(16)内开设有蓄液腔(42),且所述蓄液腔(42)与导液槽B(26)连通,所述蓄液腔(42)内滑动设有活动板(43),所述活动板(43)一侧面上设有微型电动伸缩杆(41),焊接完成后,通过微型电动伸缩杆(41)的作用带动活动板(43)移动,进而将导液槽B(26)内的液压油抽送到蓄液腔(42)内,降低导液槽B(26)内的压强,半圆型螺纹套(21)在挤压弹簧(22)的作用下与双向丝杆(9)接触。

2.根据权利要求1所述的一种电阻点焊工装,其特征在于:其中一个所述条形腔(19)一端开设有安装槽,所述安装槽中部开设有限位槽,所述安装槽内活动设有固定杆(38),且所述固定杆(38)一端延伸至条形腔(19)内,所述固定杆(38)外壁上设有限位板(39),且所述限位板(39)与限位槽滑动设置,所述限位板(39)与限位槽之间的固定杆(38)外壁上套设有复位弹簧(40),所述矩形框(6)内壁上配合固定杆(38)开设有固定槽,其中一个所述密封板(20)和固定杆(38)底面均为倾斜面,所述密封板(20)移动时会推动固定杆(38)移动,固定杆(38)插进固定槽内,实现对滑块(16)的固定。

3.根据权利要求2所述的一种电阻点焊工装,其特征在于:所述密封板(20)与条形腔(19)为动密封结构设置,其中一个所述密封板(20)内开设有滑动槽,另一个所述密封板(20)侧面上配合滑动槽设有挡板(27),且所述挡板(27)与滑动槽为动密封结构设置。

4.根据权利要求1所述的一种电阻点焊工装,其特征在于:所述清理机构包括设置在电阻点焊机本体(1)底面上的保护壳(13),所述双向丝杆(9)底部活动贯穿进保护壳(13)内并设有圆盘(31),所述圆盘(31)底面边缘处设有短柱(32),所述短柱(32)外壁上活动设有环形板(33),所述电阻点焊机本体(1)底面上设有密封箱(14),所述密封箱(14)内活动设有活塞(36),所述环形板(33)一侧面上设有连接杆(34),且所述连接杆(34)一端活动贯穿进密封箱(14)内并与活塞(36)固接,所述密封箱(14)一侧面两端边缘处均设有进气管(37),所述进气管(37)外壁上设有单向进气阀(35),所述电阻点焊机本体(1)一侧面上设有连接管(4),所述密封箱(14)另一侧面两端边缘处均设有与连接管(4)连通的出气管(15),所述出气管(15)外壁上设有单向出气阀(30),所述连接管(4)一端面上设有两个导气管(3),其中一个所述导气管(3)端部倾斜位于焊接口(5)上方,另一个所述导气管(3)端部位于焊接口(5)内部。