欢迎来到知嘟嘟! 联系电话:13336804447 卖家免费入驻,海量在线求购! 卖家免费入驻,海量在线求购!
知嘟嘟
我要发布
联系电话:13336804447
知嘟嘟经纪人
收藏
专利号: 2022234492733
申请人: 苏州凝昕轨道装备有限公司
专利类型:实用新型
专利状态:已下证
专利领域: 测量;测试
更新日期:2024-06-06
缴费截止日期: 暂无
价格&联系人
年费信息
委托购买

摘要:

权利要求书:

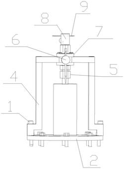
1.一种小轴承游隙测量工装(4),其特征在于:包括齿轮箱输入法兰(2)以及安装在齿轮箱输入法兰(2)上的测量组件,所述测量组件包括安装在齿轮箱输入法兰(2)上的龙门状的测量工装(4),所述测量工装(4)的顶部设有一套筒(7),所述套筒(7)上下贯通,所述套筒(7)的下方设有专用螺母(5),所述专用螺母(5)的螺帽的顶部设有内螺纹孔,所述套筒(7)的上方设有扭力扳手(8),所述扭力扳手(8)的一端设有可穿过套筒(7)与内螺纹孔连接的外螺纹柱,所述扭力扳手(8)与外螺纹柱相互垂直,所述扭力扳手(8)上安装有千分表(9),所述套筒(7)的外壁设有一百分表(6)。

2.根据权利要求1所述的一种小轴承游隙测量工装(4),其特征在于:所述专用螺母(5)的螺杆可穿过待测的小轴承。

3.根据权利要求1所述的一种小轴承游隙测量工装(4),其特征在于:所述测量工装(4)的两脚与齿轮箱输入法兰(2)之间用于固定两者的紧固螺栓(1)。