欢迎来到知嘟嘟! 联系电话:13336804447 卖家免费入驻,海量在线求购! 卖家免费入驻,海量在线求购!
知嘟嘟
我要发布
联系电话:13336804447
知嘟嘟经纪人
收藏
专利号: 2020211514438
申请人: 无锡市源通轴承有限公司
专利类型:实用新型
专利状态:已下证
专利领域: 测量;测试
更新日期:2024-06-13
缴费截止日期: 暂无
价格&联系人
年费信息
委托购买

摘要:

权利要求书:

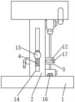
1.一种轴承游隙检测装置,包括底座(1),其特征在于:所述底座(1)上安装有支撑柱(2),所述支撑柱(2)内设有升降槽(3),所述升降槽(3)内滑动安装有升降滑块(4),所述升降滑块(4)上安装有轴芯(5),所述轴芯(5)上设有第一凹槽(6)和第二凹槽(7),所述第一凹槽(6)内安装有转动杆(8),所述转动杆(8)上安装有第一锥齿轮(9),所述第二凹槽(7)内安装有螺纹杆(10),所述螺纹杆(10)的一端贯穿第二凹槽(7)的内壁,且螺纹杆(10)穿入第一凹槽(6)内的一端安装有第二锥齿轮(11),所述第一锥齿轮(9)啮合连接第二锥齿轮(11),所述螺纹杆(10)上通过螺纹安装有延伸板(12),所述延伸板(12)套设在第二凹槽(7)内。

2.根据权利要求1所述的一种轴承游隙检测装置,其特征在于:所述支撑柱(2)的两侧均设有第一升降轨(13),所述轴芯(5)滑动安装在第一升降轨(13)内。

3.根据权利要求1所述的一种轴承游隙检测装置,其特征在于:所述支撑柱(2)上设有第二升降轨(14),所述升降滑块(4)上安装有禁锢旋钮(15),禁锢旋钮(15)滑动安装在第二升降轨(14)内。

4.根据权利要求1所述的一种轴承游隙检测装置,其特征在于:所述底座(1)上安装有下抵块(16)。

5.根据权利要求1所述的一种轴承游隙检测装置,其特征在于:所述转动杆(8)的一端贯穿第一凹槽(6)内壁,且转动杆(8)穿出的一端安装有转动旋钮(17)。