欢迎来到知嘟嘟! 联系电话:13336804447 卖家免费入驻,海量在线求购! 卖家免费入驻,海量在线求购!
知嘟嘟
我要发布
联系电话:13336804447
知嘟嘟经纪人
收藏
专利号: 2022233743753
申请人: 长春利君康大药房连锁有限公司
专利类型:实用新型
专利状态:已下证
专利领域: 家具;家庭用的物品或设备;咖啡磨;香料磨;一般吸尘器
更新日期:2025-03-25
缴费截止日期: 暂无
价格&联系人
年费信息
委托购买

摘要:

权利要求书:

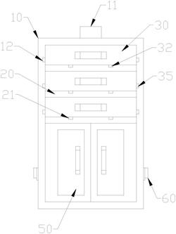
1.一种药品存储柜,其特征在于,包括:

设置于柜体(10)顶部的多个隔板(20),每个隔板(20)上方设置有抽屉(30),所述抽屉(30)的后壁板外侧的两端安装有顶块(31),所述顶块(31)与柜体(10)的后壁板接触,所述隔板(20)上且位于两个顶块(31)之间的部位上均匀开设有多个通气孔;

设置于柜体(10)底部的多个支撑板(40),每个支撑板(40)上均开设有多个通气孔,多个支撑板(40)的外侧安装有对开门(50);

设置于柜体(10)的两个侧板底部上的进气罩(60),所述进气罩(60)位于底部的两个支撑板(40)之间,所述进气罩(60)的外壁上开设有多个通气孔,所述进气罩(60)内设置有吸水层(61)和活性炭层板(62),所述吸水层(61)靠近进气罩(60)设置;

设置于柜体(10)的顶端设置有出气口(11),所述出气口(11)上安装有单向阀。

2.根据权利要求1所述的一种药品存储柜,其特征在于:所述隔板(20)的顶面向内凹陷形成两个第一滑槽(21),所述抽屉(30)上与两个第一滑槽(21)相对应位置设置有第一滑轮(32),所述第一滑轮(32)能够在对应的第一滑槽(21)内滚动。

3.根据权利要求2所述的一种药品存储柜,其特征在于:每个所述隔板(20)上的第一滑槽(21)均设置于其上多个通气孔的前侧。

4.根据权利要求1所述的一种药品存储柜,其特征在于:所述抽屉(30)的两个侧壁上安装有两个第二滑轮(35),所述柜体(10)的侧壁上与第二滑轮(35)位置相对应向内凹陷形成第二滑槽(12),所述第二滑轮(35)能够在第二滑槽(12)内滚动。

5.根据权利要求1所述的一种药品存储柜,其特征在于:所述抽屉(30)的内部安装有多个隔断板(33),多个隔断板(33)的底部具有两个第一滑块。

6.根据权利要求5所述的一种药品存储柜,其特征在于:所述抽屉(30)的底部上向内凹陷形成两个对称的第三滑槽(34),所述第三滑槽(34)的与多个隔断板(33)相垂直,每个隔断板(33)上的第一滑块均能够在对应的第三滑槽(34)内移动。

7.根据权利要求1所述的一种药品存储柜,其特征在于:所述吸水层(61)和活性炭层板(62)的顶端均安装于一固定板(63)上,固定板(63)的顶端设置有拉手(64),所述拉手(64)的两个侧面与进气罩(60)和柜体(10)侧壁之间均设置有密封条。

8.根据权利要求1所述的一种药品存储柜,其特征在于:所述支撑板(40)的两端抵靠在两个L型板(41)上,所述L型板(41)的长板固定于柜体(10)的内壁上,所述L型板(41)的短板顶面向内凹陷形成第四滑槽(42),所述支撑板(40)的两端与第四滑槽(42)位置相对应处设置有第二凸块(43),所述第二凸块(43)能够在对应的第四滑槽(42)内滑动。

9.根据权利要求8所述的一种药品存储柜,其特征在于:所述L型板(41)上远离对开门(50)的端部设置有斜板(44),所述支撑板(40)抵靠在该斜板(44)上。

10.根据权利要求1所述的一种药品存储柜,其特征在于:所述对开门(50)的内侧安装有灭菌灯(51)。