欢迎来到知嘟嘟! 联系电话:13336804447 卖家免费入驻,海量在线求购! 卖家免费入驻,海量在线求购!
知嘟嘟
我要发布
联系电话:13336804447
知嘟嘟经纪人
收藏
专利号: 2022233195513
申请人: 泉州市仟瑞粮油实业有限公司
专利类型:实用新型
专利状态:已下证
专利领域: 破碎、磨粉或粉碎;谷物碾磨的预处理
更新日期:2025-04-18
缴费截止日期: 暂无
价格&联系人
年费信息
委托购买

摘要:

权利要求书:

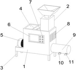
1.一种可双重碾碎的大米磨粒机,其特征在于:包括机体(1)和辅助机构(2)和支脚(3),所述大米通过机体(1)顶部右端设置的辅助机构(2)进行辅助下料;

辅助机构(2)包括外壳(21)、外框(22)、顶升装置(23)、承料结构(24)、下料管(25)、承米斗(26)和出米管(27),所述外壳(21)内侧底部与外框(22)相固定,所述外框(22)内侧设置有顶升装置(23),所述顶升装置(23)顶部与承料结构(24)固定成一体,所述外壳(21)内侧上端中部与下料管(25)相固定,所述下料管(25)顶部垂直设置有承米斗(26),所述外壳(21)左端与出米管(27)贯穿连接,所述机体(1)顶部右端与外壳(21)相固定。

2.根据权利要求1所述的一种可双重碾碎的大米磨粒机,其特征在于:所述支脚(3)、进料斗(4)、驱动电机(5)、操作屏(6)、开关(7)、散热孔(8)、筛分装置(9)、第一出口(10)和第二出口(11),所述机体(1)底部与支脚(3)相固定,所述机体(1)左上端开设有进料斗(4),所述机体(1)左端与驱动电机(5)相连接,所述机体(1)前端开设有操作屏(6),所述机体(1)前端设置有开关(7),所述机体(1)右上端面开设有散热孔(8),所述机体(1)右下端与筛分装置(9)固定成一体,所述筛分装置(9)下端从左至右依次设置有第一出口(10)与第二出口(11)。

3.根据权利要求1所述的一种可双重碾碎的大米磨粒机,其特征在于:所述顶升装置(23)包括电机(231)、旋转轴(232)、第一限位块(233)、支撑杆(234)、限位盘(235)、凸块(236)、限位圆柱(237)、滑槽(238)、滑杆(239)、顶盘(2310)和第二限位块(2311),所述电机(231)左端与旋转轴(232)相连接,所述旋转轴(232)左端贯穿第一限位块(233)内侧中部,所述第一限位块(233)底部垂直设置有支撑杆(234),所述旋转轴(232)左端与限位盘(235)贯穿连接,所述限位盘(235)外侧与凸块(236)活动贴合,所述凸块(236)后端与限位圆柱(237)相固定,所述限位圆柱(237)外表面开设有滑槽(238),所述限位圆柱(237)内侧中部与滑杆(239)固定成一体,所述滑杆(239)顶部与顶盘(2310)相固定,所述滑杆(239)下端与第二限位块(2311)活动连接,所述外框(22)内侧右端与电机(231)相固定,所述外框(22)内侧底部均与支撑杆(234)和第二限位块(2311)固定成一体,所述顶盘(2310)顶部与承料结构(24)相固定。

4.根据权利要求1所述的一种可双重碾碎的大米磨粒机,其特征在于:所述承料结构(24)包括承米斗(241)、第一开口(242)、第二开口(243)、下料板(244)、弹簧(245)、挡板(246)和第三开口(247),所述承米斗(241)顶部开设有第一开口(242),所述承米斗(241)左端开设有第二开口(243),所述第二开口(243)下端与下料板(244)相固定,所述承米斗(241)内侧下端与弹簧(245)固定成一体,所述弹簧(245)顶部与挡板(246)相固定,所述承米斗(241)左下端开设有第三开口(247),所述承米斗(241)底部与顶盘(2310)固定成一体。

5.根据权利要求4所述的一种可双重碾碎的大米磨粒机,其特征在于:所述承米斗(241)内侧设置有料板(244),且料板(244)设置的倾斜角度为30度。

6.根据权利要求4所述的一种可双重碾碎的大米磨粒机,其特征在于:所述弹簧(245)共设置有两个,且弹簧(245)等距设置在承米斗(241)内侧右下端。

7.根据权利要求3所述的一种可双重碾碎的大米磨粒机,其特征在于:所述凸块(236)共设置有十个,且凸块(236)呈倾斜角度等距设置在限位圆柱(237)外表面。