欢迎来到知嘟嘟! 联系电话:13336804447 卖家免费入驻,海量在线求购! 卖家免费入驻,海量在线求购!
知嘟嘟
我要发布
联系电话:13336804447
知嘟嘟经纪人
收藏
专利号: 202223194016X
申请人: 大连沃海工业有限公司
专利类型:实用新型
专利状态:已下证
专利领域: 卷扬;提升;牵引
更新日期:2025-04-18
缴费截止日期: 暂无
价格&联系人
年费信息
委托购买

摘要:

权利要求书:

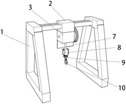
1.一种电动葫芦起重装置,包括门架(1),其特征在于,所述门架(1)的顶部活动安装有水平移动组件(2),水平移动组件(2)的底部固定安装有收卷组件(3),所述水平移动组件(2)的一侧固定安装有连接组件(4),所述连接组件(4)的一侧活动套接有驱动组件(5),所述收卷组件(3)底部的一侧固定安装有连接板(6),所述连接板(6)的一侧与驱动组件(5)的一侧固定连接,所述收卷组件(3)的内腔固定安装有钢丝绳(7),所述钢丝绳(7)的底部固定安装有对接组件(8),所述对接组件(8)的底部固定安装有缓冲组件(9),所述缓冲组件(9)的底部固定安装有防脱落组件(10)。

2.根据权利要求1所述的电动葫芦起重装置,其特征在于,所述缓冲组件(9)包括上固定板(91),所述上固定板(91)的顶部与对接组件(8)的底部固定连接,所述上固定板(91)底部的中央固定安装有加粗钢丝绳(92),所述上固定板(91)的底部固定安装有刚性缓冲弹簧(93),所述刚性缓冲弹簧(93)的底部固定安装有下固定板(94),所述下固定板(94)的顶部与加粗钢丝绳(92)的底部固定连接,所述刚性缓冲弹簧(93)的数量为四个,四个所述刚性缓冲弹簧(93)均布在上固定板(91)的底部。

3.根据权利要求2所述的电动葫芦起重装置,其特征在于,所述防脱落组件(10)包括吊钩(101),所述吊钩(101)的顶部与下固定板(94)的顶部固定连接,所述吊钩(101)的一侧开设有第一铁环卡槽(102),所述吊钩(101)的一侧固定安装有固定连接件(103),所述固定连接件(103)的一侧开设第二铁环卡槽(104),所述第二铁环卡槽(104)的一侧开设有卡槽(106),所述卡槽(106)的内腔中活动安装有卡块(105),所述第二铁环卡槽(104)的内腔中活动安装有铁环(107)。

4.根据权利要求3所述的电动葫芦起重装置,其特征在于,所述卡块(105)的顶部开设有通槽,所述卡块(105)的两侧长度大于卡槽(106)的宽度,所述卡块(105)的尺寸与卡槽(106)的尺寸相适配,所述第二铁环卡槽(104)的尺寸与铁环(107)的尺寸相适配,所述第一铁环卡槽(102)的尺寸与铁环(107)的尺寸相适配。

我要求购
我不想找了,帮我找吧
您有专利需要变现?
我要出售
智能匹配需求,快速出售