欢迎来到知嘟嘟! 联系电话:13336804447 卖家免费入驻,海量在线求购! 卖家免费入驻,海量在线求购!
知嘟嘟
我要发布
联系电话:13336804447
知嘟嘟经纪人
收藏
专利号: 2020216936722
申请人: 湖北领盛新型建材有限公司
专利类型:实用新型
专利状态:已下证
专利领域: 卷扬;提升;牵引
更新日期:2024-05-23
缴费截止日期: 暂无
价格&联系人
年费信息
委托购买

摘要:

权利要求书:

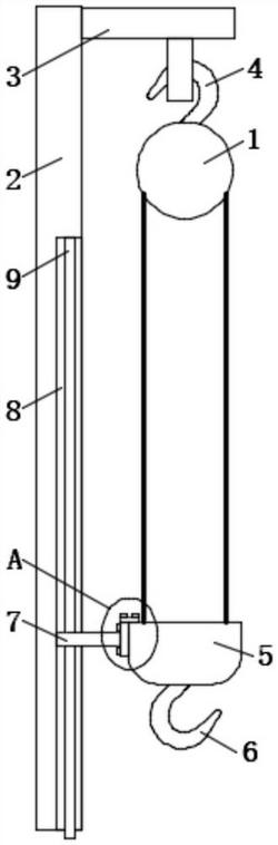
1.一种新型电动葫芦,包括电动葫芦本体(1)和固定安装在电动葫芦本体(1)一侧的固定架(2),其特征在于:所述固定架(2)顶端的外侧壁上固定安装有安装架(3),所述电动葫芦本体(1)的顶端固定安装有上挂钩(4),且上挂钩(4)挂设在安装架(3)上,所述电动葫芦本体(1)的底端固定安装有安装座(5),所述安装座(5)的底壁上固定安装有下挂钩(6),所述固定架(2)上设有与安装座(5)和下挂钩(6)相互配合的导向装置,所述导向装置包括拆卸安装在安装座(5)上的活动板(7),且活动板(7)的一端插设在固定架(2)上,所述固定架(2)上开设有与活动板(7)相互配合的活动槽(8),且活动槽(8)的底端延伸至固定架(2)的下侧,所述活动槽(8)内侧的顶壁上对称固定安装有两个与活动板(7)相互配合的导向杆(9),且两个导向杆(9)均贯穿活动板(7)设置。

2.根据权利要求1所述的一种新型电动葫芦,其特征在于:两个所述导向杆(9)的底端均延伸至固定架(2)的下侧。

3.根据权利要求1所述的一种新型电动葫芦,其特征在于:所述活动板(7)靠近安装座(5)的一端固定安装有第一连接板(10),且第一连接板(10)贴紧在安装座(5)上,所述第一连接板(10)上均匀插设有多个第一紧固螺栓(11),且第一紧固螺栓(11)均贯穿第一连接板(10)并螺纹连接在安装座(5)上。

4.根据权利要求3所述的一种新型电动葫芦,其特征在于:所述第一连接板(10)和安装座(5)的顶端共同连接有第二连接板(12),所述第二连接板(12)上均匀插设有多个第二紧固螺栓(13),且第二紧固螺栓(13)均贯穿第二连接板(12)并分别螺纹连接在第一连接板(10)和安装座(5)上。

5.根据权利要求1所述的一种新型电动葫芦,其特征在于:所述活动板(7)上对称固定安装有两个限位滑块(14),且两个限位滑块(14)均插设在活动槽(8)的内侧壁上,所述活动槽(8)的内侧壁上对称开设有两个与限位滑块(14)相互配合的限位滑槽(15)。

我要求购
我不想找了,帮我找吧
您有专利需要变现?
我要出售
智能匹配需求,快速出售