欢迎来到知嘟嘟! 联系电话:13336804447 卖家免费入驻,海量在线求购! 卖家免费入驻,海量在线求购!
知嘟嘟
我要发布
联系电话:13336804447
知嘟嘟经纪人
收藏
专利号: 2022230962918
申请人: 深圳市恒源鸿精密五金有限公司
专利类型:实用新型
专利状态:已下证
专利领域: 输送;包装;贮存;搬运薄的或细丝状材料
更新日期:2025-07-02
缴费截止日期: 暂无
价格&联系人
年费信息
委托购买

摘要:

权利要求书:

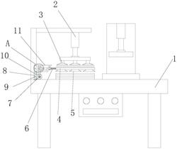
1.一种金属冲压机上料装置,包括装置主体(1)和齿条(14),其特征在于:所述装置主体(1)的顶部设置有驱动结构(2),且驱动结构(2)的底部设置有吸盘(3),所述吸盘(3)的下方设置有除尘刷(4),且除尘刷(4)的底部设置吹风头(5),所述除尘刷(4)的左端设置有风管(6),且风管(6)的另一端设置有鼓风机(7),所述鼓风机(7)的左端设置有滑块(8),且滑块(8)的外部设置有滑槽(10),所述滑槽(10)位于装置主体(1)的机架内部,且滑块(8)的顶部设置有气缸(9)。

2.根据权利要求1所述的一种金属冲压机上料装置,其特征在于:所述除尘刷(4)的刷毛与吸盘(3)相接触,且除尘刷(4)的长度大于吸盘(3)的直径,所述除尘刷(4)的顶部设置有多组刷毛孔,且刷毛孔呈等间距分布,所述除尘刷(4)的底部设置有多组吹风头(5),且吹风头(5)呈等间距的分布。

3.根据权利要求1所述的一种金属冲压机上料装置,其特征在于:所述除尘刷(4)的左端设置有连杆(18),且除尘刷(4)与连杆(18)为固定连接,所述连杆(18)的左端内部贯穿有活动轴(17),且活动轴(17)顶部设置有定板(11),所述活动轴(17)通过轴承与定板(11)连接。

4.根据权利要求1所述的一种金属冲压机上料装置,其特征在于:所述滑块(8)与滑槽(10)构成滑动结构,且滑槽(10)的长度大于装置主体(1)工作台宽度的三分之二,所述滑块(8)与滑槽(10)设置有两组,且两组滑块(8)与滑槽(10)呈同一竖直水平线,并且两组滑块(8)与滑槽(10)通过两组气缸(9)同时驱动。

5.根据权利要求1所述的一种金属冲压机上料装置,其特征在于:所述齿条(14)的顶部设置有液压杆(15),且液压杆(15)的通过板与装置主体(1)固定连接,所述齿条(14)的表面设置有凸块(13),且凸块(13)与齿条(14)为一体化结构,所述凸块(13)位于槽道(12)内部,且凸块(13)与槽道(12)构成滑动结构,所述槽道(12)位于定板(11)内部,且定板(11)与滑块(8)为一体化结构。

6.根据权利要求3所述的一种金属冲压机上料装置,其特征在于:所述活动轴(17)的外部设置有摆动齿条(16),且摆动齿条(16)呈扇形结构,所述摆动齿条(16)左端设置有齿条(14),且齿条(14)与摆动齿条(16)相互啮合。