欢迎来到知嘟嘟! 联系电话:13095918853 卖家免费入驻,海量在线求购! 卖家免费入驻,海量在线求购!
知嘟嘟
我要发布
联系电话:13095918853
知嘟嘟经纪人
收藏
专利号: 2022228805798
申请人: 安徽省梦翔信息技术有限公司
专利类型:实用新型
专利状态:已下证
专利领域: 手动工具;轻便机动工具;手动器械的手柄;车间设备;机械手
更新日期:2023-12-04
缴费截止日期: 暂无
价格&联系人
年费信息
委托购买

摘要:

权利要求书:

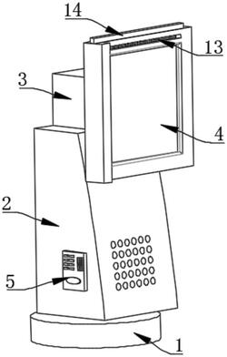
1.一种酒店前台用旅客自助服务机器人设备,其特征在于:包括底座(1),所述底座(1)上表面固定安装有机器人本体(2),所述机器人本体(2)顶部固定安装有保护壳(3),所述保护壳(3)一侧固定安装有触摸屏显示器(4),所述机器人本体(2)一侧固定安装有开关按钮(5),所述保护壳(3)内转动连接有齿轮一(6),所述保护壳(3)一侧固定安装有第一电机(7),所述第一电机(7)输出端固定安装在所述齿轮一(6)上,所述保护壳(3)内转动连接有异形块(8),所述异形块(8)外侧固定安装有齿牙一(9),且所述齿牙一(9)和所述齿轮一(6)相啮合,且所述异形块(8)一侧固定安装在所述触摸屏显示器(4)上,所述触摸屏显示器(4)一侧开设有滑槽(10),所述滑槽(10)内滑动连接有滑动块(11),且所述滑动块(11)内为中空,所述滑动块(11)内转动连接有齿轮二(12),所述滑槽(10)底部固定安装有齿牙二(13),且所述齿牙二(13)和所述齿轮二(12)相啮合;

所述触摸屏显示器(4)一侧固定安装有横板(14),所述横板(14)内滑动连接有第二电机(15),且所述第二电机(15)输出端穿过所述滑动块(11)固定安装在所述齿轮二(12)上,所述滑动块(11)上表面固定安装有L型板(16),所述L型板(16)一侧固定安装有竖杆(17),所述竖杆(17)一端铰接有连接杆(18),所述L型板(16)一侧固定安装有复位弹簧(19),且所述复位弹簧(19)一端焊接在所述连接杆(18)上,所述连接杆(18)一端转动连接有毛刷筒(20),所述触摸屏显示器(4)上表面固定安装有连接块(21),且所述L型板(16)设置在所述连接块(21)内。