欢迎来到知嘟嘟! 联系电话:13095918853 卖家免费入驻,海量在线求购! 卖家免费入驻,海量在线求购!
知嘟嘟
我要发布
联系电话:13095918853
知嘟嘟经纪人
收藏
专利号: 2022226586885
申请人: 安徽省梦翔信息技术有限公司
专利类型:实用新型
专利状态:已下证
专利领域: 核算装置
更新日期:2024-01-05
缴费截止日期: 暂无
价格&联系人
年费信息
委托购买

摘要:

权利要求书:

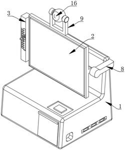
1.一种酒店管理用旅客自助退房结算设备,其特征在于:包括设备底座(1)和触屏显示屏(2),所述设备底座(1)的左侧固定连接有T型支撑柱(3),所述T型支撑柱(3)的内部设置有T型内腔(4),所述T型支撑柱(3)的内部设置有调向组件(5),所述调向组件(5)包括安装杆(501)和滑动板(502),所述安装杆(501)的外表面固定连接有齿轮(503),所述滑动板(502)的背面固定连接有齿牙板(504),所述滑动板(502)的正面固定连接有两个固定板(505),两个所述固定板(505)相对的一侧之间固定连接有固定杆(506),所述固定杆(506)的外表面滑动连接有挤压板(507),所述固定杆(506)的外表面设置有限位弹簧(508),其中一个所述固定板(505)与所述挤压板(507)的正面均固定连接有调节条(509)。

2.根据权利要求1所述的酒店管理用旅客自助退房结算设备,其特征在于:所述齿牙板(504)的齿牙面与所述齿轮(503)相互啮合,所述滑动板(502)滑动连接于所述T型内腔(4)内壁的两侧之间,所述安装杆(501)的一端转动连接于所述T型内腔(4)内壁的一侧。

3.根据权利要求1所述的酒店管理用旅客自助退房结算设备,其特征在于:所述安装杆(501)的右端贯穿所述T型支撑柱(3)并延伸至所述T型支撑柱(3)的外部,所述T型支撑柱(3)的正面开设有竖槽(6)。

4.根据权利要求3所述的酒店管理用旅客自助退房结算设备,其特征在于:所述T型支撑柱(3)的正面且位于所述竖槽(6)的左侧开设有若干个限位槽(7),所述设备底座(1)的右侧固定连接有右支撑柱(8)。

5.根据权利要求4所述的酒店管理用旅客自助退房结算设备,其特征在于:所述安装杆(501)的右端转动连接于所述右支撑柱(8)的左侧,所述触屏显示屏(2)的顶部固定连接有U型支撑板(9),所述U型支撑板(9)的内部设置有两个内槽(10)。

6.根据权利要求5所述的酒店管理用旅客自助退房结算设备,其特征在于:两个所述内槽(10)的内部均固定连接有内弹簧(11),两个所述内槽(10)的内部均滑动连接有限位块(12)。

7.根据权利要求5所述的酒店管理用旅客自助退房结算设备,其特征在于:所述U型支撑板(9)相对的一侧均开设有安装槽(13),两个所述安装槽(13)的内部之间转动连接有转动柱(14)。

8.根据权利要求7所述的酒店管理用旅客自助退房结算设备,其特征在于:两个所述转动柱(14)的外表面均开设有若干个限位孔(15),两个所述转动柱(14)相对的一端之间设置有摄像头(16)。