欢迎来到知嘟嘟! 联系电话:13336804447 卖家免费入驻,海量在线求购! 卖家免费入驻,海量在线求购!
知嘟嘟
我要发布
联系电话:13336804447
知嘟嘟经纪人
收藏
专利号: 2022227826706
申请人: 丹阳民丰橡塑制品有限公司
专利类型:实用新型
专利状态:已下证
专利领域: 塑料的加工;一般处于塑性状态物质的加工
更新日期:2025-06-19
缴费截止日期: 暂无
价格&联系人
年费信息
委托购买

摘要:

权利要求书:

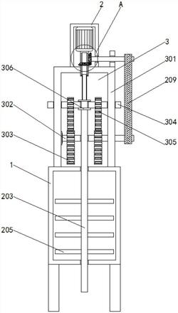
1.一种橡塑生产用混炼装置,包括搅拌罐(1),其特征在于:所述搅拌罐(1)的顶部设置有移动装置(3),所述移动装置(3)的顶部设置有搅拌装置(2);

所述移动装置(3)包括有支架(301),所述支架(301)的底部与搅拌罐(1)的顶部固定安装,所述支架(301)的内腔左侧壁活动安装有一端贯穿并延伸至其外部的安装杆(302),所述安装杆(302)的外表面固定安装有大齿轮(303),所述安装杆(302)的顶部设置有活动杆(304),所述活动杆(304)的内表面与支架(301)的外表面活动安装,所述活动杆(304)的外表面固定安装有小齿轮(305),所述小齿轮(305)的外表面与大齿轮(303)的外表面相啮合。

2.根据权利要求1所述的一种橡塑生产用混炼装置,其特征在于:所述搅拌装置(2)包括有机壳(201),所述机壳(201)的底部与支架(301)的顶部固定安装,所述机壳(201)的内顶壁固定安装有电机(202),所述电机(202)的输出轴通过联轴器固定连接有一端贯穿并延伸至搅拌罐(1)外部的搅拌轴(203),所述搅拌轴(203)的外表面固定安装有横置齿轮(204),所述搅拌轴(203)的外表面固定安装有搅拌叶(205),所述搅拌轴(203)的外表面固定安装有两个安装块(206),两个所述安装块(206)的相对一侧分别与活动杆(304)的顶部和底部活动连接,所述机壳(201)的内部活动安装有一端贯穿并延伸至其外部的固定杆(207),所述固定杆(207)的外表面固定安装有竖直齿轮(208),所述竖直齿轮(208)的外表面与横置齿轮(204)的外表面相啮合,所述固定杆(207)的外表面和安装杆(302)的外表面活动安装有同步皮带(209)。

3.根据权利要求1所述的一种橡塑生产用混炼装置,其特征在于:所述支架(301)的右侧开设有活动孔,所述活动孔的尺寸与安装杆(302)的尺寸相适配。

4.根据权利要求1所述的一种橡塑生产用混炼装置,其特征在于:所述活动杆(304)的内部开设有安装孔,所述安装孔的尺寸与支架(301)的尺寸相适配。

5.根据权利要求2所述的一种橡塑生产用混炼装置,其特征在于:所述安装杆(302)和活动杆(304)的内部均开设有固定孔,两个所述固定孔的尺寸均与搅拌轴(203)的尺寸相适配。

6.根据权利要求2所述的一种橡塑生产用混炼装置,其特征在于:所述支架(301)的顶部开设有连接孔,所述连接孔的尺寸与搅拌轴(203)的尺寸相适配。

7.根据权利要求2所述的一种橡塑生产用混炼装置,其特征在于:所述机壳(201)的右侧开设有贯穿孔,所述贯穿孔的尺寸与固定杆(207)的尺寸相适配。