欢迎来到知嘟嘟! 联系电话:13336804447 卖家免费入驻,海量在线求购! 卖家免费入驻,海量在线求购!
知嘟嘟
我要发布
联系电话:13336804447
知嘟嘟经纪人
收藏
专利号: 2022208775874
申请人: 辽阳腾威橡塑有限公司
专利类型:实用新型
专利状态:已下证
专利领域: 塑料的加工;一般处于塑性状态物质的加工
更新日期:2025-04-03
缴费截止日期: 暂无
价格&联系人
年费信息
委托购买

摘要:

权利要求书:

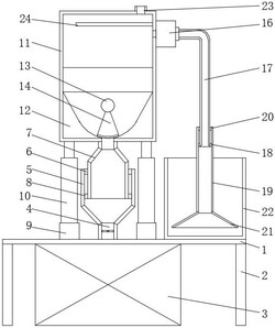
1.一种橡塑生产用原料混炼装置,包括底板(1),其特征在于:所述底板(1)的下端四角均设有支脚(2),所述底板(1)的下端中部放置有混炼机(3),所述底板(1)的上端中部设有出料管阀(4),所述出料管阀(4)的上端设有第一出料斗(5),所述第一出料斗(5)的下端口与所述混炼机(3)连通,所述第一出料斗(5)的内侧壁上部设有出料限位圈(6),所述出料限位圈(6)的内侧活动连接有第二出料斗(7),所述第二出料斗(7)的外侧壁下部设有出料密封圈(8),所述底板(1)的上表面且在所述第一出料斗(5)的左右两侧对称设有底座(9),所述底座(9)的上端设有气缸(10),所述气缸(10)的输出端之间设有缓存箱(11),所述第二出料斗(7)的上端口与所述缓存箱(11)连通,所述缓存箱(11)的前后侧壁中部倾斜,所述缓存箱(11)的内腔下部左右对称设有导流板(12),所述缓存箱(11)的前后侧壁下部之间转动连接有辊轴(13),所述辊轴(13)的外侧壁下部设有扇形挡块(14),所述辊轴(13)的前端设有把手(15),所述缓存箱(11)的外侧壁右上部设有抽气机(16)的输出端,所述抽气机(16)的输入端设有抽料硬管(17),所述抽料硬管(17)的外侧壁下部设有抽料密封圈(18),所述抽料密封圈(18)的外侧活动连接有抽料套管(19),所述抽料套管(19)的内侧壁上部设有抽料限位圈(20),所述抽料套管(19)的下端设有抽料罩(21),所述底板(1)上端右部放置有料桶(22),所述缓存箱(11)的上端右部设有通风口(23),所述缓存箱(11)的内腔右侧壁上部设有隔风板(24)。