欢迎来到知嘟嘟! 联系电话:13336804447 卖家免费入驻,海量在线求购! 卖家免费入驻,海量在线求购!
知嘟嘟
我要发布
联系电话:13336804447
知嘟嘟经纪人
收藏
专利号: 2022227629676
申请人: 陈哲
专利类型:实用新型
专利状态:已下证
专利领域: 测量;测试
更新日期:2025-01-09
缴费截止日期: 暂无
价格&联系人
年费信息
委托购买

摘要:

权利要求书:

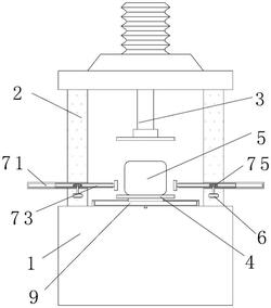
1.一种建筑检测承载力检测装置,包括安置台(1)和支撑柱(2),其特征在于:

所述安置台(1)的上侧安装有支撑柱(2),且支撑柱(2)的上端安装有挤压柱(3),且挤压柱(3)的正下方设置有承载台(4),所述承载台(4)与安置台(1)相固定,且承载台(4)的上侧设置有试验块(5),所述支撑柱(2)的内部固定有驱动电机(6),且驱动电机(6)的出力轴通过轴承与支撑柱(2)活动连接;

所述驱动电机(6)的上方设置有限位机构(7),且限位机构(7)包括有安置座(71)、滑槽(72)、齿条板(73)、滑块(74)、齿轮(75)和连接板(76),所述驱动电机(6)的上方设置有安置座(71),且安置座(71)与支撑柱(2)相固定。

2.根据权利要求1所述的一种建筑检测承载力检测装置,其特征在于:所述安置座(71)的内侧开设有滑槽(72),且安置座(71)的内部滑动插接有齿条板(73)。

3.根据权利要求2所述的一种建筑检测承载力检测装置,其特征在于:所述齿条板(73)的两侧设置有滑块(74),且滑块(74)与滑槽(72)滑动对接。

4.根据权利要求2所述的一种建筑检测承载力检测装置,其特征在于:所述安置座(71)的内部设置有齿轮(75),且齿轮(75)的凸齿面与齿条板(73)的凸齿面相对接。

5.根据权利要求4所述的一种建筑检测承载力检测装置,其特征在于:所述齿轮(75)的下侧与驱动电机(6)的出力轴相固定,所述齿条板(73)贯穿伸出安置台(1)的一端连接有连接板(76)。

6.根据权利要求1所述的一种建筑检测承载力检测装置,其特征在于:所述安置台(1)靠近承载台(4)的一侧设置有第一安置盒(8),且两个所述第一安置盒(8)之间滑动插接有第二安置盒(9)。

7.根据权利要求6所述的一种建筑检测承载力检测装置,其特征在于:所述第一安置盒(8)靠近承载台(4)的一侧与第二安置盒(9)靠近承载台(4)的一侧分别连接有卡块(10),且卡块(10)与承载台(4)相对接。

8.根据权利要求6所述的一种建筑检测承载力检测装置,其特征在于:所述安置台(1)靠近第一安置盒(8)和第二安置盒(9)的一侧开设有引导槽(11),所述第一安置盒(8)的下侧和第二安置盒(9)的下侧固定有滑条(12),且滑条(12)与引导槽(11)滑动对接。